2025年09月15日 09:36:44 来源:南京泽尼克激光技术有限公司 >> 进入该公司展台 阅读量:6
斐索干涉仪是干涉仪的一种常用类型,由斐索(H.Fi zeau1819—1896)研究而得名。
基本原理光路见图,点光源S的光线经准直后,近乎正入射地照射被观察透明物体,光线在物体上下表面间多次反射,并从反射方向S'处观察干涉条纹。光学工厂用这种干涉仪来检验玻璃厚度的均匀性或者表面的平整度(光学玻璃、陶瓷、金属表面等)。

斐索干涉仪原理为等厚干涉,用以检测光学元件的面形、光学镜头的波面像差以及光学材料均匀性等的一种精密仪器。其测量精度一般为λ/10~λ/100, λ为检测用光源的平均波长。
斐索干涉仪有平面和球面两种,前者由分束器、准直物镜和标准平面所组成,后者由分束器、有限共轭距物镜和标准球面所组成。单色光束在标准平面或标准球面上,部分反射作为参考光束,部分透射并通过被测件作为检测光束。检测光束自准返回,与参考光束重合,形成等厚干涉条纹。用斐索平面干涉仪可以检测平板或棱镜的表面面形及其均匀性。用斐索球面干涉仪可以检测球面面形和其曲率半径,后者的测量精度约1微米;也可以检测无限、有限共轭距镜头的波面像差。
和泰曼一格林干涉仪一样,斐索(Fizeau)干涉仪也是采用了振幅分割法:使入射光垂直于反射面射入.即I=0,保持入射角恒定,产生等厚干涉条纹,用以测量光学元件的误差。
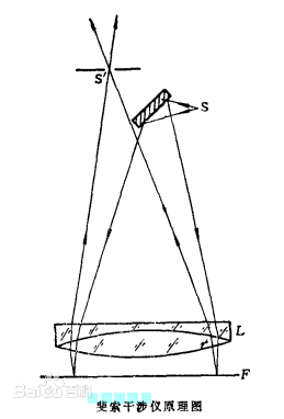
图2—1 7是斐索干涉仪的光路。单色光源如氦氖激光器照明小孔H,形成一点光源。点光源射出的光束经分光镜G反射后,射向透镜L2,变成平行光束,然后垂直射向标准平晶P。一部分光被P上表面反射,另一部分光透过P射向被测件Q。被Q上表面反射的光束和被P上表面反射的光束进人观测系统后,会产生等厚干涉条纹,用以测量Q上表面的面形误差。若将标准平晶P改为球面样板,即下表面为球面,则可测球面的面形误差。把标准件P拿掉,使被测件Q的上、下表面反射的光束干涉,则可测Q的平行度。

下图11-39所示的斐索(Fizeau)干涉仪中,平面反射镜M1,M2放置在同一条光路上。入射光通过平板半透半反射镜P后到平面镜M1,M2也是一个半透半反射平面镜;这样一部分光被M2反射回到平板P(R2作为参考光),另一部分光透过M2射到反射镜M1后(R1作为传感光),再被反射也回到平板P,两束光重合形成干涉。
由此可见,斐索干涉仪和迈克尔逊干涉仪的区别就是:在干涉仪中,参考光和传感光是沿着同一条光路行进的,因此称为共光路干涉仪。如果使用分光路的干涉仪,在两束光经过的光程较长时或者进行大口径元件的检测时,两支光路上往往会受到不同的外界干扰(如机械振动、温度起伏等),致使干涉条纹不稳定,甚至严重影响测量。而在共光路干涉仪中,参考和传感两束光通过的是同一条光路,受到的干扰也一样,故可以较好地克服此干扰问题。
例如,图1 1—40所示的平面干涉仪就是利用斐索干涉仪结构和等厚干涉的原理来设计的光学测量仪器。在光学元件加工时,可使用这些仪器来检查和测量光学元件的光学表面的质量,如平面度及其局部缺陷与误差等。干涉仪的光源可采用准单色光源(如汞光灯、钠光灯),发出的光经半透半反射镜P和透镜L,投射到标准平晶Q与待测光学元件G的夹层处;在O处可观察到等厚干涉条纹,由这些条纹的微小弯曲形状来判断待测光学平面的不平度。现在此干涉仪普遍使用激光作为光源,由于激光的单色性好、相干性好,因此标准平晶Q与待测光学元件G之间的距离可拉开,这样可大大方便检测操作;而且可获得亮度大、对比度好的干涉条纹,从而提高了测量精度和测量范围。
如果将标准平晶改换成标准球面样板透镜,即可构成球面干涉仪,用于检测球面的球面度及其局部缺陷与误差等。这里,利用了被测凹面镜的表面和与其曲率半径相当的标准样板透镜表面的两支反射光形成的牛顿环条纹。假若被测球面和标准球面相同,则条纹消失,呈现均匀的光场;如果出现的条纹是一些完整的同心圆环,则表示被测球面没有局部缺陷,但与标准球面的曲率半径有偏差。
