2025年09月19日 09:19:43 来源:东莞市宇匠数控设备有限公司 >> 进入该公司展台 阅读量:4
一、夹具的要求
1.为保持工件在本工序中所有需要完成的待加工面充分暴露在外,夹具要做得尽可能开敞,因此夹紧机构元件与加工面之间应保持一定的安全距离,同时要求夹紧机构元件能低则低,以防止夹具与加工中心主轴套筒或刀套、刃具在加工过程中发生碰撞。
2.为保持零件安装方位与机床坐标系及编程坐标系方向的一致性,夹具应能保证在机床上实现定向安装,还要求能协调零件定位面与机床之间保持一定的坐标联系。
3.夹具的刚性与稳定性要好。尽量不采用在加工过程中更换夹紧点的设计,当非要在加工过程中更换夹紧点不可时,要特别注意不能因更换夹紧点而破坏夹具或工件定位精度。
二、常用夹具种类
(1)组合夹具 适合于小批量生产或研制时的中、小型工件在数控加工中心上进行铣削加工。
(2)专用铣削夹具 这是特别为某一项或类似的几项工件设计制造的夹具,一般在年产量较大或研制时非要不可时采用。
(3)多工位夹具 可以同时装夹多个工件,可减少换刀次数,也便于一面加工,一面装卸工件,有利于缩短辅助时间,提高生产率,较适宜于中批量生产。
(4)气动或液压夹具 适用于生产批量较大,采用其他夹具又特别费工、费力的工件,能减轻工人劳动强度和提高生产率,但此类夹具结构较复杂,造价往往较高,而且制造周期较长。
(5)通用铣削夹具 一次安装工件,同时可从四面加工坯料。
三、数控铣削夹具的选用原则
在选用夹具时,通常需要考虑产品的生产批量、生产效率、质量保证及经济性,选用时可参照下列原则:

(1)在生产量小或研制时,应广泛采用组合夹具,只有在组合夹具无法解决工件装夹时才考虑采用其他夹具。
(2)小批量或成批生产时可考虑采用专用夹具,但应尽量简单。
(3)在生产批量较大时可考虑采用多工位夹具和气动、液压夹具。
四、工件的安装
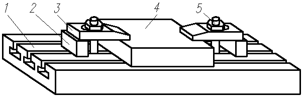
(一)用机用平口钳安装工件
机用平口钳适用于中小尺寸和形状规则的工件安装,它是一种通用夹具,一般有非旋转式和旋转式两种,前者刚性较好,后者底座上有一刻度盘,能够把平口钳转成任意角度。安装平口钳时必须先将底面和工作台面擦干净,利用百分表校正钳口,使钳口与横向或纵向工作台方向平行,以保证铣削的加工精度,如图右所示。数控加工中心上加工的零件多数为半成品,利用平口钳装夹的工件尺寸一般不超过钳口的宽度,所加工的部位不得与钳口发生干涉。平口钳安装好后,把工件放入钳口内,并在工件的下面垫上比工件窄、厚度适当且要求较高的等高垫块,然后把工件夹紧。为了使工件紧密地靠在垫块上,应用铜锤或木锤轻轻的敲击工件,直到用手不能轻易推动等高垫块时,最后再将工件夹紧在平口钳内。工件应当紧固在钳口比较中间的位置,装夹高度以铣削尺寸高出钳口平面 3~5mm 为宜,用平口钳装夹表面粗糙度较差的工件时,应在两钳口与工件表面之间垫一层铜皮,以免损坏钳口,并能增加接触面。下图所示为使用机用平口钳装夹工件的几种情况。

(a)正确的安装

(b)错误的安装
机用平口钳的使用
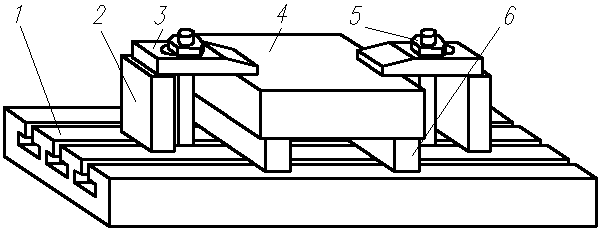
(二)用组合压板安装工件
对于体积较大的工件大都用组合压板来装夹,根据图纸的加工要求,可将工件直接压在工作台面上,图a所示,这种装夹方法不能进行贯通的挖槽或钻孔加工等;也可在工件下面垫上厚度适当且要求较高的等高垫块后再将其压紧,图b所示,这种装夹方法可进行贯通的挖槽或钻孔加工。

(a) (b)
组合压板安装工件的方法
1-工作台 2-支承块 3-压板 4-工件 5-双头螺柱 6-等高垫块
使用压板时应注意以下几点:
1.必须将工作台面和工件底面擦干净,不能拖拉粗糙的铸件、锻件等,以免划伤台面。在工件的光洁表面或材料硬度较低的表面与压板之间,必须安置垫片(如铜片或厚纸片),这样可以避免表面因受压力而损伤。
2.压板的位置要安排得妥当,要压在工件刚性地方,不得与刀具发生干涉,夹紧力的大小也要适当,不然会产生变形。
3.支撑压板的支承块高度要与工件相同或略高于工件,压板螺栓必须尽量靠近工件,并且螺栓到工件的距离应小于螺栓到支承块的距离,以便增大压紧力。螺母必须拧紧,否则将会因压力不够而使工件移动,以致损坏工件、机床和刀具,甚至发生意外事故。
(三)用精密治具板安装工件
HT系列 HL系列

HC系列

HP系列 HM系列

HH系列
精密治具板的各种系列
精密治具板具有较高的平面度、平行度及表面粗糙度,工件或模具可通过尺寸大小选择不同的型号或系列,如图所示。有些工件或大型模具在装夹后必须同时完成整个表面、外形、型腔及孔的加工才能保证其精度要求时,采用HP、HH、HM系列精密治具板安装,装夹前必须在工件底平面合适的位置加工出深度适宜的工艺螺钉孔(在加工模具时,其工艺螺钉孔位置应考虑到今后模具安装时能被利用掉),利用内六角螺钉将工件锁紧在精密治具板上(在加工贯通的型腔及通孔时,必须在工件与精密治具板之间合适的位置放入等高垫块),然后再将精密治具板安装在工作台面上。一些工件在使用组合压板装夹,工作台面上的T形槽不能满足安装要求时,采用HT、HL、HC系列精密治具板安装,利用组合压板将工件装夹在精密治具板上,然后再将精密治具板安装在工作台面上,这类系列的精密治具板还适用于零件尺寸较小时的多件一次性装夹加工。
(四)用精密治具筒安装工件
在加工表面相互垂直度要求较高的工件时,多采用精密治具筒安装工件。精密治具筒具有较高的平面度、垂直度、平行度及表面粗糙度,如图所示。

BJB系列 HJC系列 HIB系列
精密治具筒的各种系列
(五)用其它装置安装工件
1.用分度头安装
分度头是加工中心常用的重要附件,能使工件绕分度头主轴轴线回转一定角度,在一次装夹中完成等分或不等分零件的分度工作,如加工四方、六角等。
2.用三爪卡盘安装
将三爪卡盘利用压板安装在工作台面上,可装夹圆柱形零件。在批量加工圆柱工件端面时,装夹快捷方便,例如铣削端面凸轮、不规则槽等。
(六)用专用夹具安装工件
为了保证工件的加工质量,提高生产率,减轻劳动强度,根据工件的形状和加工方式可采用专用夹具安装。
近年来,为了解决专用夹具的专用性和产品品种的多变性之间的矛盾,按“积木”的方法而设想发展了组合夹具。它是由各种不同形状、规格、尺寸的标准件,根据被加工件形状和工序要求,装配成各种夹具。用完之后,便可拆开、清洗,再重新组装成其它夹具。
五、工件的校正
1.工件的校正
工件利用上述任一方法安装后必须进行找正(在安装时首先应目测工件,使其大致与坐标轴平行),找正一般用百分表或杠杆表与磁性表座配合使用来完成。根据找正需要,可将表座吸在机床主轴、导轨面或工作台面上,百分表安装在表座接杆上,使测头轴线与测量基准面相垂直,测头与测量面接触后,指针转动2mm左右,移动机床工作台,校正被测量面相对于X、Y或Z轴方向的平行度或平面度。使用杠杆表校正时杠杆测头与测量面间成约15°的夹角,测头与测量面接触后,指针转动0.5mm左右。百分表与杠杆表的安装与使用如图所示。
(a)百分表的安装 (b)百分表的使用

(c)杠杆表的安装 (d)杠杆表的使用
百分表与杠杆表的安装与使用
利用平口钳装夹的工件,必须先校正平口钳固定钳口与工作台某一移动方向的平行度与垂直度,工件装夹后,还需校验工件上表面与工作台的平行度。组合压板、精密治具板(筒)等方法装夹的工件均需找正工件侧面与某一移动轴的平行度后再夹紧。