5.5.3 如用其他规格测力盘簧,则试样的质量可酌情增减,使绘出粘度曲线峰值在 800 A. U. 以下。
5.6 试样悬浮液制备
将称好的试样置于烧杯中,按表 1 量取相应的加水量,先加入约 100 mL 水,用玻璃棒搅拌约 20 s,然后分两次每次约加入 100 mL 水制成均匀无结块的悬浮液 ,将其转移至测量钵中,再用剩余的水分三次洗涤烧杯中残余试样并全部转移至测量钵中。从加样到冲洗试样时间应控制在 2 min 以内。
5.7 测定
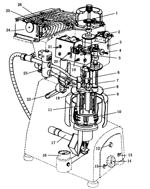
5.7.1 将搅拌器放人测量钵并使搅拌器缺口对准仪器正面,放下机身时勿使温度计触及搅拌器。
5.7.2 担紧仪器升降柄 ,将仪器上半部向左转动 90° ,然后转动升降柄缓慢放下机身,将搅拌器插人传感竖轴销子使紧密相连。
2) ”其他类谷物粉及淀粉称样服可酌情增减,使绘出粘度曲线峰值在 800 A. U. 以下。
5.7.3 降下冷却套杆使处于位,将冷却水控制开关拨至“~”(交替冷却)位置,打开冷却水。
5.7.4 打开电源开关,测量钵按 75 r/min 旋转:将温度控制拉杆拨至中部“0位,打开温度计照明灯,用接点温度计调节按钮调节温度计指针在 30℃ ,顺时针转动调节钮可升高温度指针 ,逆时针转动反之。
5.7.5 打开定时器(定时约 45 min) ,加热指示灯亮,试样悬浮液开始加热,待试样悬浮液升温达到接点温度计指针指示的温度时 ,指示灯灭,这时,将温度控制拉杆向下拨至“升温?处,并将记录笔在记录纸上作好标记。此标记的温度即为调整温度计指示的温度。此后,悬浮液即自动按 1.5 /min 升温,糊化过程开始。
5.7.6 随着温度升高到某一温度时,记录笔开始偏离记录纸基线 20 A. U. 时,此温度即为该试样的开始糊化温度。随后,粘度迅速增高。当温度升高至 95 ℃时,将温度控制拉杆拨回至“0‘’位,定时,这时粘度通常是下降的。在粘度值下降波动较小或相对稳定时(约 8 min),再将温度控制拉杆向上拨至“降温”处。定时 30 min,这时糊化物开始以 1. 5℃ /min 冷却降温。直到降温至 50 'C ,再将温度控制拉杆向上拨至“0”位,定时 3 min。实验结束。冷却时粘度值不断升高,如粘度值升高超过 1 000 A. U. 时,如测力盘簧扭力矩为 34. 32 mN“。m/A. U. (350 gf .cm/A. U. )时,则在仪器夸码挂钩上加挂 62. 5 g 硅码 ,粘度值增加 500 A. U. ;加挂 125 g 夸码 ,粘度值增加 1 000 A. U. 。
5.7.7 关闭电源。将搅拌器与传感竖轴外开,将冷却套杆提升至处,然后压下升降柄抬起仪器上半部并使向右转动 90°。
5.7.8 用湿布擦净温度计和冷却套杆,取出测量钵及搅拌器并洗净备用。
6 结果表示
从记录纸上绘制的粘度曲线读出下列各项糊化特性指标,并注明实验所采用的测力盘簧的规格及称样量和加水量。参见图 1。

t₁一一开始糊化温度(℃),是随着温度升高到某一温度时,记录笔偏离记录纸基线 20 A. U. 时的温度,此时糊化开始,读数准确至 0.5℃ ;
A一一粘度值 (A.U. ) 谷物或淀粉的水悬浮液在升温状态下 ,淀粉充分糊化产生的粘度值,读数准确至5 A.U. ,
B一一粘度值(A. U. ) ,充分糊化后的淀粉颗粒破裂,粘度下降 ,产生粘度值,读数准确至5 A. U. ;
t₂一一粘度时温度(℃),粘度值对应的温度,公式表示为:t₂=30. 0十3a,其中a 为从测试开始时的标记到粘度时的长度(cm) ,此公式适用于初始温度为 30℃ 。读数准确至 0.5℃;
C一一最终粘度值(A. U. ),糊化物按一定降温速率冷却时,糊化物胶凝,粘度值升高,温度降至 50℃时的粘度值为最终粘度值 ,读数准确至5 A. U.
其中:A一B(A.U.)=稀懈值;C一B(A. U. )=回升值。