广告招募

当前位置:中非贸易网 > 技术中心 > 所有分类

回转支承轴承安装方法

2025年12月06日 08:17:18      来源:徐州丰禾回转支承制造股份有限公司 >> 进入该公司展台      阅读量:2

分享:

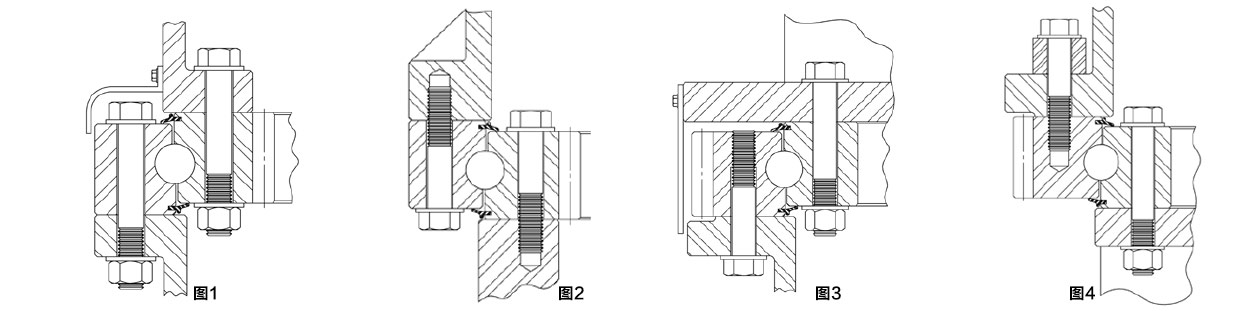
回转支承轴承可以用于多种安装固定形式。下面提供了几种基本安装方式图。为了满足一些特殊应用环境,安装方式可能会有所改变。这种改变包括孔的式样、位置和润滑孔数量,采用不完整齿圈以及特殊密封的整合。下面展示的回转支承结构只是为了举例说明。实际设计中的一些重要细节,如安装板厚度、加强构件的位置和数量、螺栓长度,都是需要设备设计人员确定的,在此不做详细阐述。

  • (图1)外圈固定,内圈支承上部结构旋转,小齿轮驱动轴承内圈。在外密封和螺栓之外设有防尘盖,可以在工作环境下防止污染物进入。
  • (图2)内圈支承上方带小齿轮的旋转结构。该回转支承轴承有一个外盖,可以保护静止外圈上的齿牙。
  • (图3)小齿轮安装在齿轮外圈支承的结构上,外圈旋转。齿圈位于内圈可以在恶劣的环境下得到一定的保护。
  • (图4)齿轮与静止内圈相连,使带齿外圈及其上部结构旋转。
版权与免责声明:
1.凡本网注明"来源:中非贸易网"的所有作品,版权均属于中非贸易网,转载请必须注明中非贸易网。违反者本网将追究相关法律责任。
2.企业发布的公司新闻、技术文章、资料下载等内容,如涉及侵权、违规遭投诉的,一律由发布企业自行承担责任,本网有权删除内容并追溯责任。
3.本网转载并注明自其它来源的作品,目的在于传递更多信息,并不代表本网赞同其观点或证实其内容的真实性,不承担此类作品侵权行为的直接责任及连带责任。其他媒体、网站或个人从本网转载时,必须保留本网注明的作品来源,并自负版权等法律责任。 4.如涉及作品内容、版权等问题,请在作品发表之日起一周内与本网联系。