2025年12月26日 09:24:22 来源:深圳市晶诺威科技有限公司 >> 进入该公司展台 阅读量:7
关于PCF8563 Real-time clock 推荐负载电容及晶振参数,晶诺威科技介绍如下:

Fosc = 32.768 kHz; quartz Rs = 40 kΩ; CL = 8 pF
NOTE:
By evaluating the average capacitance necessary for the application layout, a fixed capacitor can be used. The frequency is best measured via the 32.768 kHz signal available after power-on at pin CLKOUT. The frequency tolerance depends on the quartz crystal tolerance, the capacitor tolerance and the device-to-device tolerance.
关于PCF8563(Real-time clock/calendar)
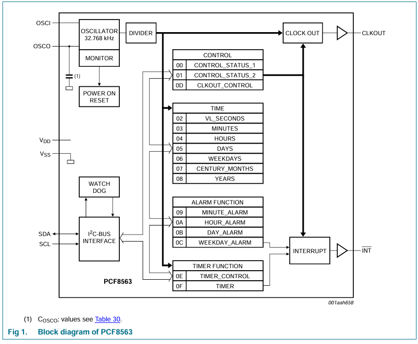
The PCF8563 is a CMOS Real-Time Clock (RTC) and calendar optimized for low power consumption. A programmable clock output, interrupt output, and voltage-low detector arealso provided. All addresses and data are transferred serially via a two-line bidirectional I2C-bus. Maximum bus speed is 400 kbit/s. The register address is incremented automatically after each written or read data byte.
PCF8563是一款专为低功耗设计的CMOS实时时钟(RTC)和日历芯片。它具备可编程时钟输出、中断输出和电压低检测功能。所有地址和数据均通过双向I2C总线以串行方式传输。总线速度为400 kbit/s。每次写入或读取数据字节后,寄存器地址会自动递增。

Features and benefits 特点与优势
Applications主要应用