2025年12月28日 09:52:41 来源:上海科佑自动化科技有限公司 >> 进入该公司展台 阅读量:17
如果电磁流量计在初始校准中没有安装好,那么在使用中就会出现计量不准,那么每个角度的计量数据就会不准确,这就是我们所说的误差,在发生这种情况后,我们该如何调整,下面上海科威勒与你分享电磁流量计的安装详细方法。
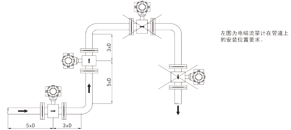
1.1 电磁流量计直管段安装要求
安装电磁流量计时,确保有足够的直管段。一般遵循先5d后3d的原则(d为管径),安装时尽量远离影响流型的各种阀门、弯头、三通、异径管等。对于分布式管段,如果不能避免在管件前安装流量计,一般需要在管件前加减速器、阀门10d、90°弯头、5D直管段后三通。
1.2 电磁流量计的安装方向和位置
传感器的垂直安装是的,但需要注意的是流体流动方向应为自下而上、自上而下。水平安装时,电极轴线应水平;如果电极轴线与地面垂直,则上面的电极容易聚集气体,下面的电极容易结垢或被灰尘覆盖,影响电极与流体的接触,造成误差.安装位置应选择在测量管始终充满液体的地方,防止因为测量管内没有液体而产生测量管未显示在零点的错觉。管路设计应保证液体中不产生气泡,流量计应尽量安装在阀门的上游,以免因阀门的节流作用而降低管道内的压力,从而产生气泡.传感器周围不应有大干扰电磁场(如大功率电机、变压器),以避免测量误差。
电磁流量计测量电路以被测液体电位为零电位。大多数情况下,被测液体为地电位。转换器输入端的中点通过传感器输出信号的接地点与被测流体电连接。另外,电磁流量计传感器的输出信号很小,满量程时只有2.5~8.0mV,流量很小时输出只有几微伏。轻微的外部干扰都会影响仪器的精度。为了保证电磁流量计的正常工作,减少电气干扰,电磁流量计必须有良好的接地措施。
电磁流量计接地时,应注意以下几点。
(1)传感器的测量管、外壳、屏蔽线、转换器和二次表必须接地。
(2) 传感器和转换器应分别接地。不要将它们连接到电机和工艺管道上。接地电阻应小于10Ω。
(3)传感器和转换器的接地在现场,二次仪表的屏蔽层在控制室一侧接地。请勿多端接地,以免因电位不同而产生干扰。
(4) 传感器安装在金属管上,传感器的接地线可按厂家要求接在管子两侧的法兰上,形成可靠的接地回路(见图1) .仪表的接地点应为独立接地点,不得与其他用电设备的接地线连接。

传感器安装在塑料管或内壁有绝缘涂层或衬里的管道上。两端应安装接地环(或带接地极的短金属管),然后用导线连接,使管内流动的介质与大地短路。零电位。

1. 4 配管
(1)为了消除法兰弹跳和断裂,安装流量计时应校正管道的错位或倾斜以及两个法兰之间安装距离的偏差。如果安装在较长的架空管道上,流量计的两个法兰之间应有一个支架来支撑管道,以防止管道振动引起应力。
(2)清除管道内焊渣等异物。
1.5 减速机安装时应注意的问题
为了不对减速器安装后的流型产生太大的影响,要求减速器的中心锥角不大于15°,越小越好,这是一个问题
lem 在实际生产中经常被忽略。
2. 结论
电磁流量计在工业生产中得到了广泛的应用。以上几点在选型和安装时应注意,使电磁流量计在生产中发挥应有的作用。
电磁流量计安装要求:

为了正确测量,在管道上选择安装位置时应注意以下要求:
1、传感器可以安装在垂直管道上,也可以安装在水平或倾斜的管道上,但要求两个电极的中心连接处于水平状态。
2、安装位置的介质应在满管内流动,避免管道不合格和电极吸附气体。
3、当流量计安装位置的介质未充满管道时,可采用抬高流量计后端管道的方法使其充满。严禁将流量计安装在管道和出水口的点。
4、流量计前后直管段长度:前段≥10DN,后段≥5DN(DN为管径)
电磁流量计安装方法及步骤:
5.1 选择电磁流量计的安装位置:
在选择安装位置时,应注意以下几点:
A、安装位置应尽量选择管道无振动或低振动,振动加速度不大于2g。振动大时,应采取减振措施;
B、传感器上下游必须有足够的直管段(见图2)
C、维护阀安装在传感器上游,流量调节阀安装在传感器下游;
D、尽量选择便于安装和维护的位置;
E、选择环境干燥的地方;
F. 传感器可安装在水平管道或垂直管道上。但安装在垂直管道上时,介质必须从下向上流动。
G、传感器尽量安装在室内,必须安装在室外时要注意防水。功放箱外的线缆应弯成U形;
H、传感器应远离电气噪声,如大功率变频器、大功率变压器、电机、大功率无线收发设备等。
5.2 电磁流量计安装要求:
A、焊接时,确保法兰端面与管道中心线垂直;
B、安装孔间距较大的地方为仪表杆安装位置,两个法兰上的安装孔方向应一致;
C、法兰焊接后,管道必须清理干净,不得有焊渣等杂物。
5.3 电磁流量计安装步骤:
A、选择安装位置,按照图2剪下合适长度的前后直管段和长度为L1的管段(如图5和表5所示);
B、前后直管段各焊接一个法兰。在传感器两端加垫片后,用双头螺栓将传感器连接到法兰上(注意表体上的箭头方向应与流体流动方向一致);
C. 将传感器前后直管段焊接到原管上。
方法二(如图4所示)
A、选择安装位置,按图3确定前后直管段,截取前后直管段之间的长度L1(见图5和表5);
B. 焊接前后直管段上的法兰。焊接时,确保两个法兰的所有安装孔同心;
C、在传感器两端安装垫片后,用双头螺栓将传感器连接到法兰上。
德国KEWILL成立于1975年,上海KEWILL是中国的总代理商,多年来经营各种种类、规格的电磁流量计,研发实力强,技术雄厚,售后服务好,在全国各重点城市设立了办事处或者分公司,进口产品质量有保障