2025年12月30日 09:01:51 来源:深圳市晶诺威科技有限公司 >> 进入该公司展台 阅读量:7
石英晶体谐振器与石英晶体振荡器之间的关系是什么?
石英晶体谐振器被称之为无源晶振,而石英晶体振荡器则被称之为有源晶振。有源晶振需要供给电源,输出的是经过驱动和整形的波形,无源晶振需要振荡电路,其波形在电路输入脚一般为正弦波。不管无源晶振还是有源晶振,其内部核心结构都是石英晶体。
1、石英晶体的结构
利用石英晶体(Quartz-Crystal)的压电效应制成的一种谐振器件。石英本质是矿物质硅石的一种,化学成分是SiO2,从一块晶体上按一定的方位角切割成的薄片称为石英晶片。

(石英晶体与石英晶片图片)
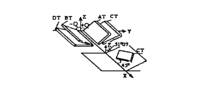
石英晶体形状是呈角锥形的六棱结晶体,具有各向异性的物理特性。按其自然形状有三个对称轴,电轴X,机械轴Y,光轴Z。

(石英晶体结构图)
石英晶振中的各种晶片,就是按照各轴不同角度,切割成正方形、长方形、圆形、或棒型的薄片,如下图所示:

(石英晶片切割角度图解)
2、石英晶体的基本特性
(1) 石英晶体的正、反两种压电效应
正压电效应:当沿晶体的电轴或机械轴施以张力或压力时,就在垂直于电轴的两面上产生正、负电荷,呈现出电压。
负压电效应:当在垂直于电轴的两面上加交变电压时,晶体将会沿电轴或机械轴产生弹性变形(伸张或压缩) , 称为机械振动。

(石英晶体压电特性图解)
(2) 石英晶体具有谐振回路的特性
石英晶体存在着固有振动频率。
当石英晶体几何尺寸和结构一定时, 它本身有一固定的机械振动频率。当外加电信号频率在此自然频率附近时, 就会发生谐振现象。它既表现为石英晶片的机械共振, 又在电路上表现出电谐振,即产生稳定且有规律的脉冲时钟信号。
这时有足够大的电流流过石英晶体,产生电能和机械能的转换。
(3) 具有较小的频率温度特性
石英晶体频率稳定度可达到百万级数量级以上,具有很高的品质因数,产生以KHz或MHz为单位的振荡频率。
3、石英晶体的等效电路
当石英晶体不振动时,可以看成是一个平板电容器Co,称为静电电容。Co与晶片的几何尺寸和电极面积有关。
如下图所示:

C0:静态电容和支架引线等分布电容之和,一般约2~5PF。
Cq :动态电容,表征晶体的弹性,值很小,在10﹣² pF以下。
Lq :动态电感,表征晶体的质量,值较大,在几十mH ~几百H。
rq :动态电阻,机械摩擦和空气阻尼引起的损耗,阻抗很小,几~几百欧Ω。
Lq1、Cq1、rq3:晶体基频等效电路。
CLq3、Lq3、rq3:晶体三次泛音等效电路。
石英晶体谐振器基本电路应用
无源晶振就是石英晶体谐振器的别称,主要用在各种电子线路中起产生频率的作用。无源晶振是有2个引脚的无极性元件,需要借助于时钟电路才能产生振荡信号,自身无法振荡起来。无源晶振在使用中没有方向性,不用担忧焊反。
如下图所示:

(外接电容分别为20PF的无源晶振12MHZ基本电路图例)
石英晶体谐振器(无源晶振)结构,如下图:

(晶诺威科技石英晶体谐振器结构图)
石英晶体振荡器(有源晶振)结构,如下图所示:

(晶诺威科技石英晶体振荡器结构图)
石英晶体振荡器的应用:
有源晶振实质上是无源晶振与IC逻辑电路的组合,因此可以说有源晶振已自身形成一套完整集成电路。在有源晶振应用中,只需找对电压输入脚位,提供有源晶振规格书规定的电压就可以了。常见输入电压为:1.8V、2.8V、3.3V。电压允许变化范围为±10%。

(石英晶体振荡器电路应用图例)
晶诺威科技石英晶体振荡器焊盘脚位识别:
