2026年01月01日 09:22:07 来源:深圳市晶诺威科技有限公司 >> 进入该公司展台 阅读量:7

RTC实时时钟模块应用常见问题
1. 焊盘及PIN脚说明

RTC实时时钟模块的不正确安装会导致故障以及系统崩溃,因此安装时,请确认安装方向是否正确。
2. 噪音干扰
若电源或电源输入端产生过多噪音,可能会引发RTC实时时钟模块功能失常,请在电源端做好电磁屏蔽。
3. 电源线路阻抗
基于电源线越长,阻抗越大。建议选取阻抗低的电源线材料,尽量缩短电源线长度低。
4. 通电说明
不建议从中间电位及/或快速通电,否则可能导致RTC实时时钟模块功无法正常工作。

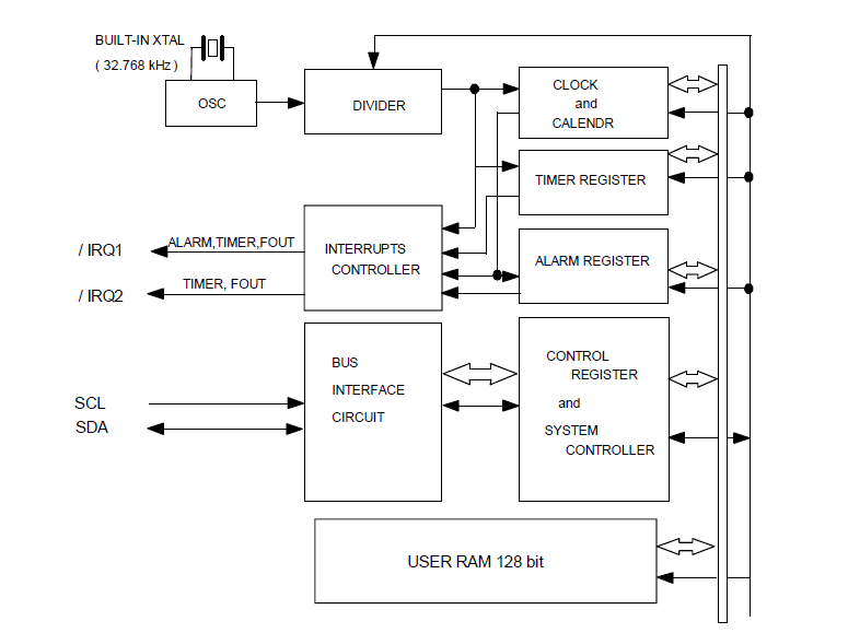
(Built in frequency adjusted 32.768-kHz crystal unit)
5. 输出负载距离
输出负载尽可能靠近RTC实时时钟模块(<20mm)。
6. 高温影响
电路板累积的温度会使RTC实时时钟模块处于高温环境工作,这可能会损害晶振电气特性,因此请注意散热处理。
7. 未用终端PIN脚处理
未用PIN脚可能会引起噪声,从而影响RTC实时时钟模块正常工作。建议将未用终端PIN脚连接至GND。

(RTC SOP-8PIN)