2026年01月02日 09:58:44 来源:深圳市晶诺威科技有限公司 >> 进入该公司展台 阅读量:7

无源晶振的驱动电流drive level
晶振驱动电流表示振荡电路工作时无源晶振的功耗驱动级别,驱动功率(激励功率)单位为μw,这个数值可以参照晶振规格书。说明一下:晶振产品的驱动电流已由晶振制造商决定。无源晶振保持在规范内驱动级别非常关键。过高的驱动电流可能会导致频率和等效串联电阻的意外变化。

英文版说明如下:
The drive level of a crystal is a measurement of the power dissipation seen by a crystal in the amplifier circuit of the oscillator. The drive level is expressed in microwatts (µW). The maximum power dissipation is generally specified by the type of quartz used and the manufacturer, with typical ratings up to 1mW or 2mW. The drive level of a crystal is defined by the feedback components chosen at both sides of the crystal.
The amplitude of mechanical vibration of the quartz resonator increases proportionally to the applied current. Overdriving the crystal can cause excessive long-term aging, output amplitude and frequency distortion, or worse to the destruction of the resonator.
石英谐振器机械振动振幅增大与施加的电流成比例。过度驱动晶体会导致过度,长期老化,输出幅度和频率失真,或更严重导致晶体谐振器遭到破坏。
驱动电流功率计算方式:
驱动电流功率=I^2·R1
R1:晶振的等效串联电阻
驱动电流是振荡电路工作时通过晶振的电流,可以在实际振荡电路上测量驱动电流,R1可以通过网络分析仪等来测量。
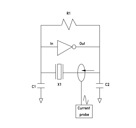
无源晶振的驱动电流测量方法说明
1.测量设备和装置: PCB、晶振(具有等效电路常数数据)、示波器,电流探头。
2.将引线焊接到晶振引脚的连接电路并设置电流探头。
3.向PCB供电并在示波器上观察驱动电流波形。
4.计算驱动电流的有效值。如果波形是正弦波或类似波形,则有效值由lp-p/2√2计算。使用数字示波器,可以通过示波器的功能读取有效值。
5.通过上述公式计算晶振的驱动电流值。
注意:
测量所得的驱动电流值不应超过晶振规格书中指定的驱动电流值。