2026年01月10日 09:14:14 来源:上海长竹阀门有限公司 >> 进入该公司展台 阅读量:21
ZSJL水力警铃,湿式报警阀水力警铃,瑞安长城水力警铃,瑞城消防警铃
说明
水力警铃是由水力驱动的全天候声响报警设施,工作时无打击火花,可用于防爆场所。
产品标准:GB5135.2《自动喷水灭火系统 第2部份: 湿式报警阀、延迟器、水力警铃》
设计规范:GB50084 《自动喷水灭火系统设计规范》
验收规范:GB50261《自动喷水灭火系统施工及验收规范》
特点
(1)水力警铃由铝合金本体、尼龙叶轮、尼龙轴、铝合金铃壳、铜合金轴套与尼龙衬套组成。无需保养,使用寿命长。
(2)ZSJL型墙外型水力警铃,水马达与警铃联于一体,结构紧凑。
(3)ZSJLC型穿墙式水力警铃适用于装潢要求美观及北方防冻场所,特别是工矿保护区。其水马达设置于室内采暖区,警铃设置于室外。
主要性能参数
(1)水力警铃的启动报警压力:小于05 MPa;额定工作压力:1.2 MPa
(2)水力警铃的流量K系数:5.4
(3)水力警铃声的报警声响:在05 MPa时,大于70dB;在0.2 MPa时,大于85dB
(4)接口螺纹:R23/4″
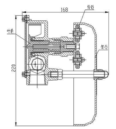
(5)水力警铃结构及外形尺寸
