2026年01月10日 09:16:57 来源:上海长竹阀门有限公司 >> 进入该公司展台 阅读量:14
说明
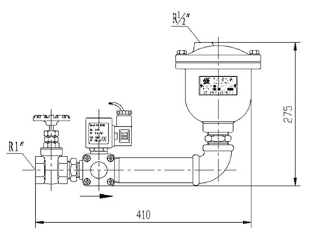
电动型自动排气阀组由自动排气阀、闸阀、消防电磁阀及管道附件组成,用于干式与预作用系统中,安装于系统管道的顶端、末端及充水转弯等处。
在系统动作充水排气时,加快系统的气水转换时间,确保系统在火灾初期即出水灭火,缩短响应时间;减少火灾时爆破喷头处的排气而助燃火势,提高系统灭火的效率与可靠性。
技术参数
(1)工作压力范围:0.05MPa-1.2MPa
(2)进水口螺纹:Rc1″
(3)排气口螺纹:R21/2″
(4)安装形式:直立安装,排气口宜接至下水管道
(5)密封试验压力:2.4 MPa水压,历时5min
(6)消防电磁阀:DC24V 0.5A
(7)产品结构及外形尺寸:
