广告招募

当前位置:中非贸易网 > 技术中心 > 所有分类

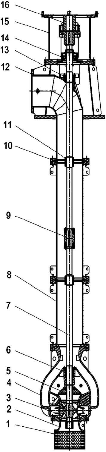
双吸结构的立式长轴泵

2026年01月16日 08:50:46      来源:湖南立佳机械制造有限公司 >> 进入该公司展台      阅读量:4

分享:

 双吸结构的立式长轴泵,包括接管,接管的上端连有出水弯管,接管内部设有轴,轴的上端连有填料密封、推力轴承部件、电机座和驱动联轴器,所述接管的下端依次连有导流壳体、进水喇叭和下滤网,所述轴的下端上连有双吸叶轮,且双吸叶轮设于导流壳体内,导流壳体内还设有上滤网,上滤网设于双吸叶轮的上方。本双吸结构的立式长轴泵可以有效降低泵的汽蚀余量,同时可以平衡轴向力,轴承承受载荷小,提高转子运行可靠性。

技术要求: 1.一种双吸结构的立式长轴泵,包括接管,接管的上端连有出水弯管,接管内部设有轴,轴的上端连有填料密封、推力轴承部件、电机座和驱动联轴器,其特征在于,所述接管的下端依次连有导流壳体、进水喇叭和下滤网,所述轴的下端上连有双吸叶轮,且双吸叶轮设于导流壳体内,导流壳体内还设有上滤网,上滤网设于双吸叶轮的上方。

版权与免责声明:
1.凡本网注明"来源:中非贸易网"的所有作品,版权均属于中非贸易网,转载请必须注明中非贸易网。违反者本网将追究相关法律责任。
2.企业发布的公司新闻、技术文章、资料下载等内容,如涉及侵权、违规遭投诉的,一律由发布企业自行承担责任,本网有权删除内容并追溯责任。
3.本网转载并注明自其它来源的作品,目的在于传递更多信息,并不代表本网赞同其观点或证实其内容的真实性,不承担此类作品侵权行为的直接责任及连带责任。其他媒体、网站或个人从本网转载时,必须保留本网注明的作品来源,并自负版权等法律责任。 4.如涉及作品内容、版权等问题,请在作品发表之日起一周内与本网联系。