2026年01月19日 08:56:21 来源:新乡市百盛机械有限公司 >> 进入该公司展台 阅读量:1
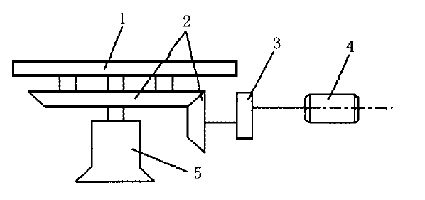
韶钢烧结厂原料分料系统有两台圆盘给料机用于转送一次混合料,其结构如图1所示。近年来,由于生产节奏不断加快,工况极不稳定,以圆锥齿轮轮齿折断为主要形式的故障频繁出现,不但增加了检修费用,而且,严重影响了生产顺行。

图1 改造前圆盘给料机传动装置结构简图
1— 圆盘; 2— 圆锥齿轮; 3— 减速机; 4— 电机; 5— 立轴
1)在检修中,我们曾多次认真调试和更换损坏的齿轮,但故障依旧。同时,我们也考虑过齿轮制造工艺,改变其材质和齿面硬度,但结果反而使震动加剧,造成齿轮轮辐破裂。因此,我们基本上排除了轮齿因弯曲应力和应力集中造成疲劳折断的可能性。
2)轮齿折断的另一原因可能是短时过载或冲击载荷。由图1可见,圆盘上部与活动料仓相联,圆盘定轴转动时,随之运动的物料通过料仓口反射板的作用而排送。料仓内充填物料的过程是动态的,无规律的。遇到仓内物料过多、较少或空仓、以及仓内载荷分布不均匀时,位于圆盘下方并与之固联的从动齿(大圆锥齿轮)以及与其啮合的主动齿(小圆锥齿轮)将受到几方面因素的损坏。
(1)物料较多时,料与仓壁之间的摩擦力增大。同时,大量物料的重力作用使圆盘和立轴产生弹性变形(垂直位移),圆锥齿轮相互压紧,齿面不易形成油膜,引起冷焊粘着,并使齿轮承受过载。
(2)动态充料过程中,载荷变化幅度大,特别是空仓时,物料由高空落下,直接撞击圆盘,此时小锥齿不断受碰撞,使系统产生强迫振动,齿面接触应力剧烈变化,齿轮承受冲击载荷。
(3)圆盘上物料分布不均衡和受冲击时,各质点受力不均,会使圆盘和立轴产生不同形式的形变。圆盘(即大圆锥齿轮)作非平面的定轴转动,齿轮在位移状态中啮合。
以上因素相互叠加,共同作用,引起短时过载和冲击载荷,从而造成轮齿折断。

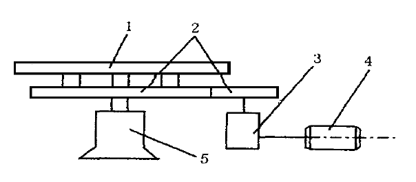
图2 改造后的传动装置结构简图
1— 圆盘; 2— 圆柱齿轮; 3—减速机; 4— 电机; 5— 立轴
1)选用蜗轮蜗杆减速机替代圆柱齿轮减速机,实现空间齿轮机构到平面齿轮机构的转换。
2)如图2所示,将圆锥齿轮啮合改为圆柱齿轮啮合,以改变齿轮啮合时的受力状态。
(1)避免因物料重力作用使齿轮啮合无侧隙,甚至出现相互压紧的状况,减轻齿轮的短时过载。
(2)改造后的平行轴传动比改造前的相交轴传动容易保证适当的侧隙,使润滑油膜易形成,而且还可减轻冲击载荷对齿轮的损坏。
(3)圆柱齿轮啮合无轴向力,减轻了圆盘振动对齿轮及系统中其它构件的影响。
改造后的传动系统已使用两年多,未出现轮齿折断故障,而且运行平稳,噪音低,其它故障也很少出现。实践证明,此项改造是成功的,效果十分明显。