2026年01月21日 08:16:55 来源:新乡市百盛机械有限公司 >> 进入该公司展台 阅读量:1
圆盘给料机是一种传统的排料设备,由于具有能承受仓压、运转平稳可靠、给料量容易调节、料仓口尺寸较大等优点,至今仍广泛地应用于煤炭、冶金、化工等部门。由于圆盘结构及处理物料性质不同,设备的使用有时并不能达到工艺要求。本文针对几种座式圆盘给料机应用中常见的问题及改进方法作一简要介绍。
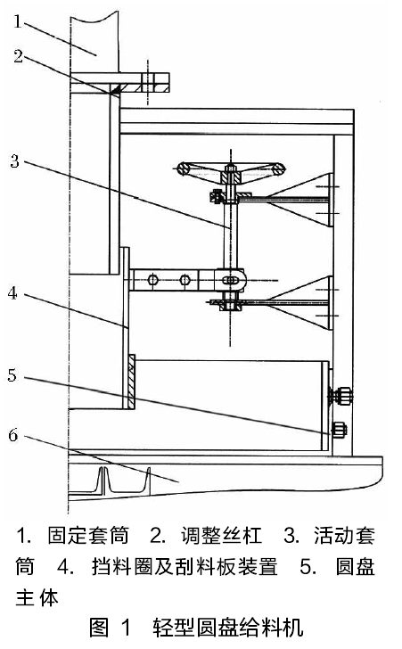
1、调整套筒式轻型圆盘给料机
1.1 调整套筒式轻型圆盘给料机结构特点
轻型圆盘给料机一般适用于物料堆密度小于2 t / m3的块状或颗粒状物料。调整套筒式给料系统常用结构如图1所示,一般为敞开式。固定套筒1与上部料仓口通过法兰联接。通过调整丝杠2的转动,带动活动套筒作上下运动,从而调整活动套筒下端面与圆盘面之间的距离。物料由料仓通过固定套筒与活动套筒进入圆盘面。圆盘面通常加装16 Mh钢板作耐磨衬板。如图2所示,在刮料板2的作用下物料被排出圆盘面完成给料过程。


1. 2调整套式轻型圆盘给料机应用与设计改进
内蒙古某焦化厂在对炼焦煤(堆密度0.8t/ m3,粒度<80nm)进行处理,工艺配置如图1所示,其额定转速为12 r/ min。在设备负载试运行阶段,从活动套筒3内出来的大部分物料不能随圆盘一起转动,出现打滑现象,只有少部分物料到达如图2所示的刮料板装置处,并被其刮出圆盘面。试车时测定的生产能力未能达到设计要求。


经过分析,初步判定认为圆盘面为光滑的钢板面,物料对钢板面的静摩擦系数较小,产生的静摩擦力不足以平衡物料随圆盘转动所产生的惯性力与物料内部的摩擦阻力之和,要避免打滑现象的发生,必须增大物料与圆盘接触面之间的静摩擦力。
改进后的工艺配置如图3所示,在圆盘面通过螺栓紧固网格型钢板料盘2,刮料板5移至钢板料盘2上方。活动套筒及刮料板下平面与钢板料盘上平面间保持在10 rnm左右。钢板料盘2结构见图4所示,料盘高度达30mm。物料自活动套筒进入钢板料盘后,自动填满钢板料盘网格。工作时,活动套筒内物料与钢板料盘网格内物料相互接触,并在圆盘转动时互相摩擦。其静摩擦阻力系数远大于物料与钢板之间的静摩擦系数。经运转试验,原物料在圆盘面上打滑的现象基本消失,生产能力已能满足工艺流程要求,说明改进是可行的。
1.3调整套筒式轻型圆盘给料机应用的局限性
唐山某选煤厂20世纪印年代从波兰进口如图1所示圆盘给粒机用于对合水煤泥进行给料。此种结构的生产能力调节是通过活动套筒上下高度的调整来改变物料在圆盘面上的分布,通过刮料板大限度地进行给料。
当煤泥之间的粘结力较大,其安息角已大于50°时,活动套筒高度调整对生产能力的改变已不明显。因圆盘结构限制,套筒内并不能装配置垂直方向的绞刀装置,为此,只能在圆盘面上加装如图5所示的平面绞刀,其主要目的是要把位于活动套筒下方的物料推向圆盘面的四周,并被刮料板所触接到。由于受刮板位置的限制,圆盘面上的平面绞刀并不能靠近圆盘边缘,因此撒料效果受到一定的限制。从生产现场的使用效果来,并未能满足生产能力要求。
因此,轻型圆盘给料机采用固定套筒与活动套筒组合式结构对流动性差、易于搭拱的物料进行给料时,较难达到工艺要求的工作性能,对此种工况条件下工作的设备,在选型时应予以足够的重视。


2、蜗形套筒式重型圆盘给料机
2. 1蜗形套筒式重型圆盘给料机给料系统结构特点
重型圆盘给料机一般适用于物料堆密度小于25t/ m3的块状或颗粒状物料。
其结构如图6所示,物料由料仓进入蜗形套筒后,在圆盘的转动下由闸门3排出。传动机构4由一对伞齿轮组成闸门3的升降机构,用以控制闸门3的开合度大小。
2. 2 应用及其局限性
图6所示蜗形套筒式重型圆盘给料机用于焦炭、石灰配料等中等流动性的物料给料取得了较的应用效果,但是仍然有其局限性。
首先,闸门的启闭通过手轮进行人工调整,不易实现自动化生产所需的远程自动控制。其次,由于没有对物料起活化作用的绞刀装置,仍然不能适用于对粘性物料进行给料。第三,对于合水量较大的物料,在给料机工作时,会有一部分水份及泥浆从给料套筒与圆盘之间的间隙处漏出,造成对工作环境的污染。
3、蜗形套筒式重型圆盘给料机改进设计
针对蜗形套筒式重型圆盘给料机结构的局限性,我们对其相关部位进行了改进,并在处理粘性合水物料时取得了较的使用效果。
3. 1主要结构特点
(1)闸门装置如图7所示,在导向板2的导向下闸门5的开启由电液动推杆1驱动完成。挡块4随闸板5上下移动时引发行程开关3动作,发出的闸板开启与闭合信号,被送至控制室,实现闸门启闭自动化及联机控制。
由于电液动推杆具有可负荷起动、动作灵活、工作平稳、冲击力小、行程控制准确、过程保护、安全节能、噪声小等优点,所以我们不推荐使用电动推杆、气缸、液压缸等其它驱动装置。
(2)二次受料装置二次受料装置主要用于收集从圆盘四周撒落下来的物料,并利用二次刮料板随圆盘的转动而把物料排出。图s所示,二次受料槽u形槽部分位于圆盘下方,上部与蜗形套筒通过螺栓联接,为便于现场安装的方便,二次受料槽1由二块组成。二次料槽1由二块组成。二次刮料板2通过螺栓联接于圆盘下部,位于二次受料槽1内。此种二次受料装置与改进前采用附加刮料板进行二次刮料相比,杜绝了圆盘四周撒料的现象,同时,二次受料槽位于圆盘外围,起到了圆盘运转时的安全防护作用。

(3)圆盘绞刀圆盘绞刀下部通过螺栓紧固于圆盘面上,其上的搅动叶片经过特殊处理后在随圆盘转动时对于粘性物料起到了很的活化作用。
4、结语
根据物料特性及工艺要求,认真地进行圆盘给料机选型与设计,是给料设备正常运行的关键。改进后的调整套筒式轻型圆盘给料机及蜗形套筒式重型圆盘给料机,在煤炭、冶金、采矿等行业得到了广泛的应用,实践证明改进是成功、可行的。