2026年01月27日 10:04:22 来源:浙江弘安传动有限公司 >> 进入该公司展台 阅读量:23
01 轴向零件的轴向定位和固定
轴上零件的轴向定位方法取决于零件所承受的轴向载荷大小。常用的轴向定位方法有以下几种。
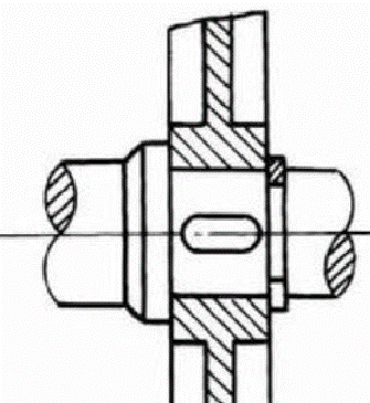
轴肩与轴环定位
优点:方便可靠、不需要附加零件,能承受的轴向力大;
缺点:会使轴径增大,阶梯处形成应力集中,阶梯过多将不利于加工。用途:这种方法广泛用于各种轴上零件的定位。

套筒定位
优点:简化轴的结构,减小应力集中,结构简单、定位可靠。多用于轴上零件间距离较小的场合。

圆螺母定位
优点:固定可靠,可以承受较大的轴向力,能实现轴上零件的间隙调整。

弹性挡圈定位
优点:紧定螺钉多用于光轴上零件的固定,并兼有周向固定的作用。适用于轴向力小,转速低的场合。

02 轴上零件的周向定位
运转时,为了传递转矩或避免与轴发生相对转动,零件在轴上必须周向固定。
轴上零件的周向定位方法主要有键联接(平键、半圆键、楔键等)、花键联接、弹性环联接、过盈配合联接、销联接、成型联接等等。
平键
制造简单、装拆方便。用于传递转矩较大,对中性要求一般的场合。

花键
承载能力高,定心好、导向性好。适用于传递转矩较大,要求导向性良好的场合。

过盈配合
结构简单、定心好、承载能力高。常与平键联合使用,以承受大的交变、振动和冲击载荷。

销联接
用于固定不太重要、受力不大,但同时需要周向或轴向固定的零件。

来源:南京安维士
(版权归原作者或机构所有)