2026年01月28日 09:39:54 来源:浙江弘安传动有限公司 >> 进入该公司展台 阅读量:6
1 引言
齿轮箱是风力发电机组关键的部件之一,工作环境十分恶劣,在运行过程中经受载荷的大小和方向都难以预测,瞬间载荷、随时间变化的变幅交变载荷的大量不确定性等导致风力发电机组极易发生故障,作为风力发电机组中主要传动部件,齿轮箱是目前风力发电机组最容易产生故障的零部件之一。
风力发电机组一般安装在荒郊野外、山口、海边等偏远地区,增速箱、发电机等部件又安装于距地面几十米高度的狭小的机舱内,因为机舱空间有限、环境恶劣、交通不便、齿轮箱一旦出现故障,修复十分困难,另如若齿轮箱出现故障后不能在塔上维修须下塔处理的话,维修费用较高,且整个维修周期较长,将严重影响风场的经济效益。因此减小风电齿轮箱出现故障的几率,提供风电齿轮箱易维护性,将是风电齿轮箱设计及运行维护过程需重点考虑的问题。
本文将从风电齿轮箱常见故障问题入手,分析故障产生的原因及其影响因素,并提出在齿轮箱设计优化、生产、运行维护过程应注意的问题及可采取的措施以供参考。
2 齿轮箱常见故障及原因分析
风电齿轮箱常见故障有齿轮损伤、轴承损坏及运转异常、断轴、渗漏油、齿轮箱异响、振动较大、油温油压异常、连接螺栓损坏、润滑系统故障等。
2.1 齿轮损伤
齿轮损伤主要包括轮齿折断(断齿)、齿面疲劳(点蚀)、齿面胶合、齿面磨损等。对齿轮箱中齿轮出现的故障,国内外的观察结果或报告都较为一致,即发生最多的仍为齿面的损坏,从应用初期的微点蚀,到逐步扩展的大面积点蚀、剥落或磨损。
断齿常由细微裂纹逐步扩展而成。突发性的阵风或者电网故障导致的突发载荷、发生故障时的紧急制动等,都会产生较大载荷,有时甚至数倍超过额定载荷,引起齿轮的过载折断;另外轴承损坏、轴弯曲或较大硬物挤入啮合区等也会引起轮齿的冲击折断;齿轮材料缺陷,点蚀、剥落或其他应力集中造成的局部应力过大,或较大的硬质异物落入啮合区均会引起齿轮的断裂。在风电齿轮箱内部行星级、低速中间级、高速级都有出现的情况,其中齿轮断齿的情况严重,一旦出现断齿的情况,大部分齿轮箱需要下塔进行维修。齿轮断齿如图1所示。
众多研究及观察表明,微点蚀主要发生于低速级,其它级则很少发生。其发生的原因一般认为是和风电齿轮箱的工作状态如速度及载荷变化频繁有关,此外齿面的粗糙度及油液的清洁度、含水量、粘性、油性等也对微点蚀的产生有直接影响。齿面润滑的不充分也往往恶化齿面间的润滑状态,进而加剧齿面摩擦和微点蚀的发生。齿轮强度设计不足,齿轮热处理质量不能满足要求,齿面硬度不够等都会导致齿面点蚀的产生。齿面点蚀如图1所示。

图1 齿轮断齿和齿面点蚀
齿面发生胶合,可能原因有润滑不充分,导致啮合区温度升高,导致润滑失效,两齿面相互粘连,发生胶合;行星级低速重载,齿面间油膜不易形成或被破坏,产生胶合。
齿面磨损主要原因有润滑系统滤芯不能及时更换,导致润滑油脏,铁屑、杂质等随润滑油进入齿面间,导致齿面磨损。
2.2 轴承损坏
由于风电机组工作的特殊性和载荷的复杂性,轴承是风电齿轮箱中一个相对薄弱的环节。统计数据表明早期的风电齿轮箱故障大多是有轴承引起的,随着现场经验的增多,目前轴承引起的故障明显降低,但在齿轮箱故障中仍占有一定比例,其失效常常会引起齿轮箱灾难性的破坏。由于涉及选型不当、安装偏差、润滑不足等方面的原因,极易发生轴承烧毁,滚道表面发生点蚀、裂纹、表面剥落等损坏及轴承温度异常等情况。轴承损坏及运转异常(温升较快、前后轴承温差较大)的主要影响因素有初始游隙和配合选择不当、相邻部件变形(轴承座、轴)导致游隙变化;油嘴直径过小、油压过小、油嘴位置设计不当等导致的润滑油量过小;轴承选择不当,轴承所受径向载荷不能达到轴承最小径向载荷要求导致的轴承打滑;回油孔设计不当,回油滞留导致回油不畅;润滑油脏,铁屑、杂质等随润滑油进入滚道间,导致轴承的磨损。
齿轮箱高速轴轴承发生损坏的情况较多,如若高速轴在塔上不可更换或齿轮箱内其它部位的轴承(行星架轴承、行星轮轴承等)损坏后,齿轮箱须下塔进行维修处理。
2.3 齿轮箱渗漏油
齿轮箱的渗漏油情况主要发生在箱体与齿圈结合面、端盖与箱体结合面、低速轴和高速轴轴颈处、润滑冷却系统管接头处等。箱体与齿圈结合面漏油的可能原因有箱体与齿圈连接螺栓松动、箱体与齿圈结合面安装密封胶条的环槽设计不当,密封胶条选用不合适等。齿轮箱低速轴、高速轴轴 颈处渗油、漏油主要原因有密封结构设计不合理导致回油不畅、采用盘根接触式密封,盘根磨损后导致回油孔堵塞、密封件选用不合适等。润滑系统管接头处渗漏油主要原因有管接头松动或是没有拧紧,管接头安装时没有涂密封胶、管接头本身密封效果不好等。如图2所示的高速轴密封结构,此密封结构存在一定渗漏油风险,甩油环甩出的油易附着在端盖的面上,有可能造成油从端面上重新滴落到轴上,另外密封件(盘根)易被磨损,且磨损产生的颗粒杂物进入回油通道后易将其堵塞,从而影响回油导致高速轴渗漏油。

图2 某型号齿轮箱高速轴密封结构
2.4 齿轮箱异响、振动大
齿轮箱异响总和振动相伴的,齿轮箱异响及振动较大的情况较多,异响和振动产生的原因分析比较复杂,但是可以确定的是以下各因素都有可能导致齿轮箱产生异响和较大的振动:齿轮件和箱体加工精度不高、各部件装配误差较大;齿轮箱箱体强度不高、轴刚度不足,导致齿轮轴发生变形、影响齿轮啮合产生异响和振动;齿轮传动因摩擦磨损和疲劳点蚀、剥落使齿轮啮合精度大为降低,亦会产生异响和振动。
2.5 齿轮箱油温油压异常
齿轮箱油温油压异常主要表现在齿轮箱油温偏高、油压偏高或偏低等。齿轮箱油温偏高的主要因素有冷却器冷却能力设计不够;主机机舱通风结构设计不当,机舱通风效果不好,导致齿轮箱温度偏高;润滑系统温控阀故障,齿轮箱润滑油不经冷却器直接进入齿轮箱;齿轮箱润滑油压异常,影响因素有润滑系统支路故障、润滑系统故障等。润滑系统故障主要包括温控阀问题导致齿轮箱油温偏高、机械泵抽不起油、润滑系统电机故障、油泵电机过载(温度低、粘度大)等。
2.6 其它
2.6.1 齿轮箱连接螺栓损坏
齿轮箱连接螺栓损坏主要发生在箱体和齿圈连接处,主要损坏形式为螺栓断裂,主要影响因素有齿轮箱受冲击载荷的作用;螺栓本身质量问题(螺柱整体热处理效果差,表面质量存在缺陷);螺栓松动或没有按规定力矩拧紧,使得螺栓在工作过程被剪断;
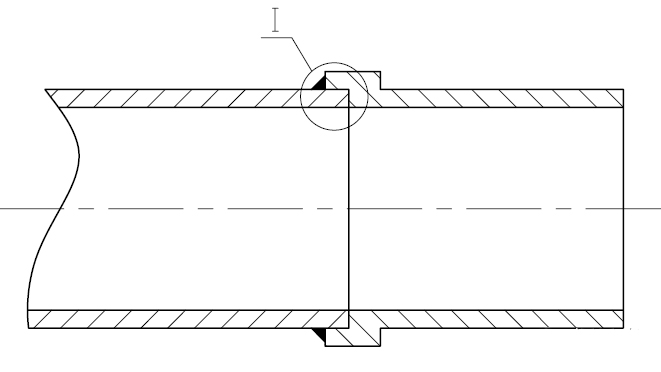
2.6.2穿线管断裂
风电机组轮毂部分电力和信号线需从齿轮箱空心管穿过与滑环单元连接,因此空心管的故障将影响整机的正常工作。空心管故障主要表现在空心管断裂,断裂主要发生在空心管与轴承安装轴颈焊接部分(图3中Ⅰ处)。发生断裂的原因主要是空心管焊接质量达不到要求(如存在焊瘤、咬边、烧穿、未焊透、夹渣、气孔、焊接裂纹以及焊缝形状和尺寸不符合要求等),导致空心管在运转过程中发生断裂,出现断裂后齿轮箱需下塔处理方可进行维修。

图3 空心管部分结构
2.6.3 齿轮箱油漆脱落
齿轮箱油漆脱落主要表现在齿轮箱外部油漆。齿轮箱外表面油漆脱落主要发生在缩进盘、齿轮箱内齿圈表面,主要原因是缩紧盘、内齿圈表面表面光洁度较高,油漆附着力达不到要求。
2.6.4箱体内部齿轮生锈
齿轮箱长时间存放,箱体内部齿轮件上防锈油膜损坏失去防锈功能,导致齿轮件表面出现锈蚀现象,锈蚀情况较轻,可通过跑合除出锈蚀,对于锈蚀较严重的齿轮箱需开箱进行除锈。
2.6.5 箱体开裂
低温条件下齿轮箱受冲击载荷作用,齿轮箱箱体或齿圈发生开裂,主要原因是箱体材料本身或热处理达不到要求导致低温时的脆性断裂。
3 风电齿轮箱的设计及运行维护建议
针对风电齿轮箱出现的上述问题,要求齿轮箱在设计、运行维护过程中必须采取相应措施,以减小上述问题出现的概率,下面将从齿轮箱设计、运行维护养方面提出相关建议予以参考。
3.1.齿轮件的精加工及修形
研究表明,较低的表面粗糙度对抑制齿面微点蚀的产生和改善齿面间的润滑条件,减少磨损,降低摩擦,延长齿轮副的运行寿命及增强抗腐蚀疲劳的能力均有着十分明显的影响。
目前国内齿轮件的表面粗糙度要求为Ra0.8,甚至低于这个要求,据报道国外最终齿面粗糙度可达Ra0.2~0.4,这一工艺目前在我国尚未采用。建议齿轮箱制造商应充分利用现有工艺手段,通过改变磨削介质和工艺参数,采用精磨方法尽量接近上述目标,以便为稳定批量生产高性能风电齿轮箱提供硬件保证。
另外提高齿轮件的加工精度,利用的技术和软件进行齿轮的修形,可避免齿轮在传动中受载变形、减小偏载,使载荷平稳过渡,明显降低齿轮箱的噪声和振动。
3.2 齿轮箱的优化设计
高速轴部套故障在风电齿轮箱故障中占得比例较高,是齿轮箱极易出现故障的部件,如若高速轴不具备可拆卸条件,高速轴部套出现故障后齿轮箱只能进行下塔维修,维修成本及维修周期将增加,因此齿轮箱在设计过程中,高速轴部套须具备可拆卸的条件。早期设计的齿轮箱,大多齿轮箱高速轴 不具备可拆卸的条件,后续产品维修过程中,高速轴单元须做进一步的优化,使高速轴具备可拆卸的条件。
随着海上风电技术的发展,对风电齿轮箱也提 出的更高的要求,因海上风电机组的维护成本较高,要求除了高速轴部套具备可拆卸条件外,其它部套亦具备可拆卸的条件,因此风电齿轮箱的模块化设计要求将愈加强烈。
因螺栓质量问题导致齿轮箱箱体和内齿圈连接螺栓断裂的情况时有发生,若连接螺栓损坏后不能及时进行更换,将影响齿轮箱的正常运行,因此要求齿轮箱外部连接螺栓须具备开拆卸的条件,即不存在因螺栓干涉导致不可拆卸的情况。
对于锁紧盘、内齿圈因表面光洁度较高使得油漆附着力达不到要求导致脱漆的现象,在设计时可通过增加其表面粗糙度以提高油漆附着力。对于已加工的,可通过滚花等措施来增加其表面粗糙度。
对于穿线管断裂的情况,可通过优化其焊接部分的结构或将空心管部分改成整体式结构。焊接部分优化包括增加焊接部分的配合长度,提高焊接质量等。
3.3 齿轮箱的运行维护建议
为了防止齿轮箱内部齿轮件生锈,对于库存时间较长或长时间停止运行机组的齿轮箱须定期进行窜油,使齿轮件上的油膜再次形成以避免齿轮件锈蚀现象的出现。
空气过滤器可吸收空气中的潮气,除去空气中的微尘等杂质,因此可减缓液压系统中的氧化作用,延缓液压油和整个设备的使用寿命,同时平衡齿轮箱与外界的气压平衡(齿轮箱内部压力过大导致渗油),因此应定期检查空气过滤器的工作状态。空气过滤器中干燥剂的颜色会发生变化后,空气过滤器的除湿能力已用尽,因此应定期检查空气过滤器,以保持空气过滤器的除湿和除尘能力
为保持润滑油的清洁度,须定期检查更换滤芯和润滑油,至少每6个月检查一次滤芯,在齿轮箱启动8-12周之后应该次更换滤芯。此后,如果有需要时可以随时更换,但至少每年更换一次。润滑油更换周期不得大于36个月,除非油样已经过测试并且证明是可以使用的。
机组在运行过程中,应避免紧急刹车,要求每年紧急刹车不超过三次,需要刹车时,采用偏航和变桨的方式先卸载,降低齿轮箱的载荷和输出的转速,采用点刹的方式,逐步降低输出转速,减小对齿轮箱的冲击,同时避免机组长时间超负荷运行,使齿轮箱长时间过载运行,造成齿轮箱损坏。
来源: 能源情报网信息监测服务平台
(版权归原作者或机构所有)