2026年01月29日 09:25:27 来源:浙江弘安传动有限公司 >> 进入该公司展台 阅读量:1
应用背景
风电齿轮箱的渗漏油问题,一直是风电齿轮箱的一大难点。如齿轮箱在运行过程中有渗漏油现象发生,不仅会对机舱产生二次污染,润滑点供油不足(损伤轴承和齿轮),严重时可能会导致齿轮箱因缺油而停机,给业主造成较大的经济损失。在常见的渗漏中,在空中最难处理的属于内齿圈和箱体(含扭力臂)的接合面位置渗漏油。内齿圈和箱体(含扭力臂)的接合面一旦出现渗漏油,需要空中开箱处理,成本高昂。
一、现有内齿圈油口密封结构
结构介绍
大部分风电齿轮箱的制造商在设计风电齿轮箱的行星级叶片侧轴承(内齿圈叶片侧)的润滑油路时,把润滑油路设计在箱体上。润滑油通过油路分配器、箱体、内齿圈、扭力臂进而进入润滑点进行润滑。通常会在扭力臂和箱体的油口位置设有一个密封槽,用于放置O形密封圈。该O形密封圈起到密封的作用。
工作原理
润滑油进入箱体/内齿圈的油孔,润滑油克服设置在箱体上的O形密封圈以及内齿圈和箱体的接合面,润滑油就会流出箱体。
密封效果
该种内齿圈的油口密封起到了一定的作用,但不能有效避免渗漏油的现象发生。主要原因如下:
•内齿圈和箱体之间存在一层约0.2mm的胶层,导致O形密封圈的压缩不足,影响密封效果。
•齿轮箱在运行过程中,因扭转会产生一些微小间隙。
•单道密封的可靠性不足。
二、带有密封套筒的内齿圈油孔密封结构
结构介绍
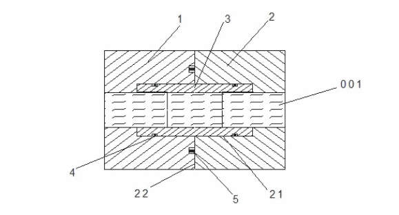
密封套筒3连接内齿圈2的油孔和箱体(扭力臂)1的油孔,密封套筒3外径与内齿圈2和箱体1采用小间隙或者过度配合,密封套筒3采用止口定位,密封套筒3的两端面分别设有螺纹孔。密封套筒3两端分别设置一个密封槽,用于放置O形密封圈4。在箱体1的油口位置设计一个密封槽,该密封槽深度应比标准的密封槽深度浅0.20mm,该密封槽位置放置O形密封圈5。结构图如下图一所示:

(密封结构)
工作原理
如润滑油001流到箱体外部,首先要克服O形密封圈4,再克服密封套筒3与箱体4(密封套筒3与内齿圈2)之间的小间隙配合,最后再克服O形密封圈5以及箱体1和内齿圈2的接合面22,油液才会流出箱体。
密封效果
该种密封结构由三道密封构成,与一道密封结构相比,该结构的可靠性大大提高。
结构特点
该结构主要有以下特点:
•结构简单,可靠性高。
•对于已有的装配和加工不影响。
•通过结构设计,密封套筒3可以从箱体的一侧取出。(当齿轮箱的使用多年后,O形密封圈的橡胶老化,可以取出密封销套更换O形密封圈)
齿轮箱的渗漏油问题,一直是齿轮箱制造和设计的一大难点。文中介绍的新密封结构主要适用于风电齿轮箱的润滑油渗漏油问题中的一类问题(即内齿圈的润滑油孔渗漏油问题)。
来源:南京安维士
(版权归原作者或机构所有)