2026年01月29日 09:50:43 来源:上海祗美电子科技有限公司 >> 进入该公司展台 阅读量:9
7 仪器和设备
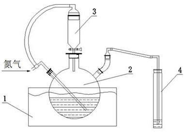
7.1 酸化-吹气-吸收装置(图1)。
![]() |
1—水浴;2—500 ml反应瓶;3—加酸分液漏斗;4—100 ml吸收管。
图 1 硫化物“酸化-吹气-吸收"装置示意图
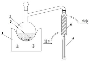
7.2 酸化-蒸馏-吸收装置(图2)。

1—加热装置;2—500 ml 蒸馏瓶;3—冷凝管;4—100 ml 吸收管;5—防爆玻璃珠。
图 2 硫化物“酸化-蒸馏-吸收"装置示意图
7.3 分光光度计:具10 mm和30 mm比色皿。
7.4 吸收管:100 ml具塞比色管。
7.5 200 ml棕色具塞磨口玻璃瓶。
7.6 一般实验室常用仪器和设备。
8 样品
8.1 样品采集和保存
样品使用200 ml棕色具塞磨口玻璃采样瓶,按照HJ 493、GB/T 14581、HJ/T 91、HJ/T 91.1和HJ/T 164的相关规定进行样品的采集。
采样时,先加乙酸锌溶液(6.11),再加水样近满瓶,然后加*溶液(6.12),最后加抗氧化剂溶液(6.13),盖盖后不留液上空间。通常乙酸锌溶液的加入量为每升水样加2 ml,*溶液的加入量为每升水样加1 ml,抗氧化剂的加入量为每升水样加2 ml。硫化物含量较高时应酌情多加乙酸锌溶液(6.11)直至沉淀。固定后样品于4 d内测定。
在采样现场用实验用水代替水样同样步骤加入乙酸锌溶液(6.11)、*溶液(6.12)和加抗氧化剂溶液(6.13)后,作为全程序空白样品带回实验室。
注1:当测定可溶性硫化物时,样品需经0.45 µm滤膜过滤后固定。
8.2 试样的制备
8.2.1 “酸化-吹气-吸收"法
取200 ml混匀的水样,或适量样品加水稀释至200 ml,迅速转移至500 ml反应瓶中,再加入5 ml抗氧化剂溶液(6.13),轻轻摇动。量取20.0 ml*溶液(6.12)于100 ml吸收比色管中作为吸收液,导气管下端插入吸收液液面下,以保证吸收。连接好装置,关闭加酸分液漏斗活塞,在分液漏斗中加入10 ml盐酸溶液(6.10),开启氮气,调整氮气(6.18)流量至300 ml/min,5 min后,开启水浴装置使温度升至60℃~70℃。打开活塞缓慢注入10 ml 盐酸于反应瓶中,关闭加酸分液漏斗活塞。连续吹气30 min,关闭气源。断开导气管,用少量水冲洗导气管,并入吸收液中,加水至约60 ml,待测。
注2: 因氮气中含有一定量氧气,能氧化硫化氢,因此低浓度试样(如海水、地下水)不建议使用“酸化-吹气-吸收"法制备样品。
8.2.2 “酸化-蒸馏-吸收"法
取200 ml混匀的水样,或适量样品加水稀释至200 ml,迅速转移至500 ml蒸馏瓶中,再加入5 ml抗氧化剂(6.13),轻轻摇动,加数粒玻璃珠。量取20.0 ml*溶液(6.12) 于100 ml吸收比色管中作为吸收液,馏出液导管下端插入吸收液液面下,以保证吸收。打开冷凝水,向蒸馏瓶中迅速加入10 ml盐酸溶液(6.10),并立即盖紧塞子,打开温控电炉, 调节合适加热温度,以2 ml/min~4 ml/min的馏出速度进行蒸馏。当比色管中的溶液达到约60 ml时,停止蒸馏。断开导气管,用少量水冲洗馏出液导管,并入吸收液中,待测。
8.3 空白试样的制备
用水(6.1)代替实际样品,按照与试样的制备(8.2)相同的步骤进行实验室空白试样的制备。