2026年02月01日 08:26:05 来源:浙江弘安传动有限公司 >> 进入该公司展台 阅读量:4
清湖 抽蓄技术交流
一、前言
推力瓦位于上机架内,用于承担整个发电机转子及水轮机的重量,是机组相当重要的承重部分。推力瓦瓦温是机组非常重要的监测点之一。瓦温过高,将直接影响生产效率,影响机组的安全性。如果瓦温传感器选型不当,一会导致监控系统对瓦温的监测不可靠,很有可能在机组异常运行,瓦温不断升高的情况下,不能及时采取有效的保护动作,发生烧瓦事件;二会导致传感器根部容易断线,传感器信号线缆需要经过油盆,长期泡在高温油中,并且在发电或抽水时会承受不同方向的油流推力。更换瓦温传感器是件耗时耗人力的工作,需要停运隔离机组,对上导推力油盆进行排油,需要打开油盆盖,拆除毁坏传感器及其布线,安装新传感器和重新布线。整个工作工期时间长,停运机组时间长,对机组运行有很大的影响。因此,推力瓦瓦温传感器的正确选型,传感器的可靠稳定,对机组的安全可靠运行具有重要意义。
二、铠装丝RTD测温电阻简介
电厂采用的测温电阻都为RTD测温电阻。RTD是电阻温度探测器,是一根特殊的导线,它的电阻随温度变化而变化,通常RTD材料包括铜、铂、镍及镍/铁合金。RTD元件可以是一根导线,也可以是一层薄膜,采用电镀或溅射的方法涂敷在陶瓷类材料基底上RTD的电阻值以0℃阻值作为标称值。0℃ 100Ω铂RTD电阻在1℃时它的阻值通常为100.39Ω,50℃时为119.4Ω。RTD测温电阻分两线制、三线制、四线制。惠蓄电厂用的瓦温电阻全部采用三线制的RTD100测温电阻。测温传感器接入EUROTHERM CHESSELL 4000R温度巡检仪,再通过MODBUS通讯接入监控系统。在温度巡检仪中设置两级报警等级和断线、超过范围信号,ALARM 1:80℃,ALARM 2:85℃,温度达到二级报警,机组将机械跳机。
测温传感器电缆的铠装丝外套,具有很多优点。铠装丝传感器的特点如下:
1.采用镍铬钛、镍铬锶合金材料,具有耐高温、抗腐蚀盐化、抗氧化等特点;
2.在导线根部加有弹簧保护装置,防止断线;
3.机械强度高、易安装,传感器根部用铠装线延伸出来,导线受到油流冲击的部分全是铠装丝,可以任意弯折,形成不锈钢外壳的导线;
4.响应速度快;
5.绝缘性能好;
6.外部导线带网状屏蔽层。
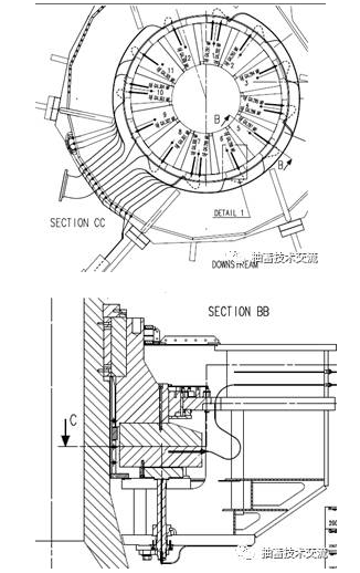
三、某蓄能机组瓦温传感器安装情况
某蓄能电厂的每台机组有十二块推力瓦,设计有十六个瓦温传感器分别对每块瓦瓦温进行监测,设有报警值,跳机值。瓦温传感器安装图如图1、图2,第1、4、7、10号瓦设计每块瓦两个瓦温传感器,其他每块瓦一个传感器。

瓦温的温度是相当重要的监测点,由于传感器安装位置特殊,环境恶劣,对测温传感器的要求相当高,不正确选型和外观设计,都将影响机组的安全运行。
四、推力瓦瓦温传感器改进方案
2008年9月20日,1#机组动态调试过程中,出现因为推力瓦瓦温传感器温度高报警跳机,影响机组的正常调试工作。在对测温回路进行详细检查后,发现端子箱接线并未出现问题,问题发生在传感器本身,需进行对油盆排油开盖检查。在开盖后发现,出问题的推力瓦瓦温传感器在根部折断,其他瓦温传感器根部也出现不同程度变形。
出现根部断线的传感器编号为01GAL296MR、01GAL301MR、01GAL303MR,分别位于4、8、10号瓦,折断情况如下图:

调试时出现多个瓦温传感器根部断线的情况绝非个别现象,而是在推力瓦瓦温传感器设计上存在问题,采用套管保护传感器线缆是主要的设计缺陷,设备提供商未能针对蓄能机组的特殊情况提供合适的传感器型号。出现推力瓦瓦温传感器断线的原因有以下几点:
1.导线泡在油盆中,长时间受到油流的冲击。机组运转时,在导线根部形成油膜,流动的油膜不断作用在导线的根部,而该导线的根部正好是传感器刚性部分与柔性部分的连接点,很容易造成导线材料疲劳,出现断线情况。
2.抽水蓄能机组由于工况多,大轴旋转方向切换频繁,瓦温传感器的根部受到两个相反方向的油流作用力的来回冲击,同时,蓄能机组的开停机频率远远高于其他形式的水电机组。
3.软管部分套管太粗,加大了油流作用力的受力面积。
此种问题属于传感器外型设计的问题,需要对所有推力瓦瓦温传感器进行改进,避免今后发生同类故障。传感器改型主要集中在传感器的外部延长线上,重点对传感器导线的保护部分做出改进,避免传感器根部断线的情?再次发生。采用铠装丝延伸保护导线的方式保护导线的方式,具有能弯曲、耐温耐油等特点,能有效解决瓦温传感器根部断线的问题。
铠装丝传感器与推力瓦结合处安装外观图如图4、图5: