2026年02月01日 08:33:48 来源:浙江弘安传动有限公司 >> 进入该公司展台 阅读量:3
作者:杨文哲 来源:设备人
(版权归原作者或机构所有)
0.摘 要
智能监测技术是一种尽量减少所需人工的监测技术,是依赖仪器仪表,涉及物理学、电子学等多种学科的综合性技术。可以减少人们对检测结果有意或无意的干扰,减轻人员的工作压力,从而保证了被监测对象的可靠性。自动监测测技术主要有两项职责,一方面,通过自动监测技术可以直接得出被监测对象的数值及其变化趋势等内容;另一方面,将自动监测技术直接测得的被检测对象的信息纳入考虑范围。本论文涉及一种落砂机轴承温度监测系统,包括轴承、轴承基座、温度传感器、轴承端盖、数据处理模块、报警模块、电源模块;所述轴承安装在所述轴承基座上;所述轴承基座上设置有温度传感器,所述温度传感器贯穿所述轴承端盖固定设置在所述轴承基座上;所述温度传感器与所述数据处理模块电连接;所述数据处理模块与所述报警模块电连接;所述电源模块是所述落砂机轴承温度监测装置的工作电源。本论文提供的系统,实时监测落砂机轴承的温度变化,提高轴承温升监测准确率,避免因轴承温度过高而造成设备停机的事故。
1. 背景
铸造落砂机在铸造生产过程中利用振动和冲击使铸型中的型砂和铸件分离,落砂是砂型铸造生产过程中的一项重要工序,即在铸型浇注并冷却到一定温度后,将铸型破碎以使铸型与砂箱分离,同时使铸件与型砂分离。由于落砂机安装在铸造地坑中,工况条件较差不便于设备检查。在落砂过程中落砂机高速运转主要依靠偏心震动来实现其落砂筛选功能,其中主要运行部位就是传动轴承。由于落砂机轴承在高速运行中经常出现轴承疲劳磨损造成轴承高温、轴承座损坏、设备卡阻等多种故障。机械设备监测人员应对机械设备有可能发生故障的因素进行事前、事中、事后的控制,对事前有可能发生的机械设备故障提前预防,一旦发现机械设备存在故障隐患,避免耽误设备修理时间,造成停产和经济损失。
2.技术方案设计
本论文提供一种落砂机轴承温度监测系统,且设置报警系统,实时检测落砂机轴承的温度变化,提高轴承温升检测准确率,快速反应轴承温度,督促操作人员及时更换由于温度过高已受损的轴承,避免因轴承温度过高而造成设备停机的事故。
一种落砂机轴承温度监测系统,包括轴承、轴承基座、温度传感器、轴承端盖、数据处理模块、报警模块、电源模块;所述轴承安装在所述轴承基座上;所述轴承基座上设置有温度传感器,所述温度传感器贯穿所述轴承端盖固定设置在所述轴承基座上;所述温度传感器与所述数据处理模块电连接;所述数据处理模块与所述报警模块电连接;所述电源模块是所述落砂机轴承温度监测装置的工作电源。
进一步地,所述落砂机轴承温度监测装置还包括温度显示模块,所述显示模块与所述数据处理模块电连接,用于显示所述温度传感器监测得到的温度值。
进一步地,所述数据处理模块包括空载运行档位、正常运行档位、负荷运行档位;所述数据处理模块根据接收到的所述温度传感器的输出信号,且根据所述温度传感器的输出信号确定轴承运行的档位信息,输出档位信息信号至所述温度显示模块;当超出所述空载运行档位或所述正常运行档位或所述负荷运行档位的设定温度值范围时,输出报警信号至所述报警模块和/或电源模块,同时报警模块产生蜂鸣报警,电源模块断电。
进一步地,所述轴承基座包括轴承支撑套,所述轴承支撑套上设置有若干螺纹孔,任一所述螺纹孔内固定有所述温度传感器,所述温度传感器的感应信号输入端靠近所述轴承,用于实时测量所述轴承的温度。
进一步地,所述温度传感器设置有螺纹,所述螺纹与所述轴承支撑套上的螺纹孔的螺纹匹配。
进一步地,所述空载运行档位的温度值范围为30℃~40℃,为空载轴承磨合初期设备正常运行安全限定值。
进一步地,所述正常运行档位的温度值范围为50℃~60℃,为设备正常运行安全范围内限定值。
进一步地,所述负荷运行档位的温度值范围为60℃~70℃,为带负荷后设备正常运行安全上线限定值。
本技术提供的一种落砂机轴承温度监测系统的结构独特、成本低、安装简单便捷,主要用于高速、高温、工况环境较差的场所,实现实时监测轴承温度,若监测得到的轴承温度值超过设定温度范围值时,落砂机立即断电停机,并启动报警模块,提示维修人员设备存在异常及时处理,避免轴承突然损坏,造成停机停产事故,进一步提高了设备的安全可靠性,保证设备运行安全。
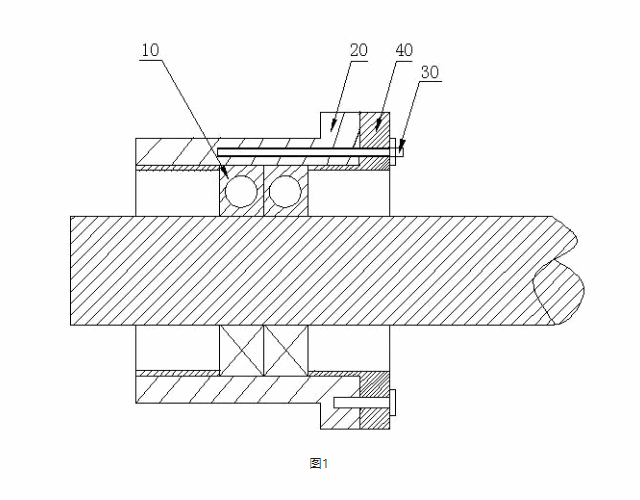
附图说明:
附图1是本技术其中一实施例系统结构示意图;
附图2是本技术系统的原理框图。
图中: 10-轴承、20-轴承基座、30-温度传感器、40-轴承端盖。

发布时间:2023-08-09