2026年02月01日 12:25:02 来源:浙江弘安传动有限公司 >> 进入该公司展台 阅读量:9
曲轴是发动机的重要零件之一。曲轴不平衡使发动机工作时产生周期性的振动,从而引起发动机的工作精度和可靠性降低、零件疲劳损坏以及产生令人厌倦的噪声。另外,曲轴不平衡对轴承寿命和机械效率也有直接的不良影响。因此,曲轴动平衡试验成为重要的检验工序。
曲轴动平衡试验是在动平衡试验机上进行的。由动平衡原理可知:轴向尺寸较大的回转件,必须分别在任意两个回转平面内各加一个适当的质量,才能使回转件达到平衡。因此,先令曲轴在动平衡试验机上运转,然后在两个选定的平面内找出所需平衡的质径积的大小和相位,再进行配重或去重,从而使曲轴达到动平衡。
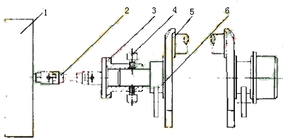
图1是原动平衡装置的结构简图。由动力箱1经万向联轴器2、接盘3带动曲轴5运转(曲轴由两组滚轮6支撑),从而测出不平衡量的大小和相位。接盘与曲轴的联接采用顶丝顶紧的方式。在长期的生产实践中,我们发现存在以下一些问题:

1.动力箱 2.万向联轴器 3.接盘 4.顶丝 5.曲轴 6.滚轮
图1 原动平衡装置结构简图
1.用顶丝顶紧,容易划伤和损坏曲轴已加工表面。
2.曲轴在开始运转和刹车时,有时与接盘产生相对转动,这样就不容易找不平衡量的相位,造成无法配重。
3.采用顶丝顶紧方式,顶丝与接盘的工作段螺纹易损坏。
基于存在以上缺点,笔者对接盘的结构进行了改进。
图2 是改进后的接盘装置。在接盘1相互对称的方向铣两个直通槽,在这两个槽中分别放人质量相等的半圆键2和配重块3,以保证整个接盘在运转时平衡。半圆键2和配重块3用两根拉伸弹簧4固定在接盘1上。使用时,将半圆键2导入曲轴小头处键槽,带动曲轴运转,进行动平衡试验。

1.接盘 2.半圆键 3.配重块 4.拉伸弹簧
图2 改进后的接盘装
1.不需使用扳手,操作方便。
2.曲轴开始运转、刹车时,接盘与曲轴的相对位置不会变动,这样会很方便地找出不平衡量的相位。
3.采用半圆键传动方式,对曲轴不会造成损伤,且能长时间使用。
使用上述接盘结构,应注意以下间题。
1.半圆键的工作面与键槽的配合间隙不宜过大(0.05mm左右),否则会影响接盘的使用寿命。
2.改进后的这种接盘适用于有封闭键槽的曲轴,尤其适用于有半圆键槽的曲轴。但如果曲轴小头处键槽为畅通式的,则要慎重使用。