广告招募

当前位置:中非贸易网 > 技术中心 > 所有分类

电子液体罐秤介绍与平面结构图

2026年02月06日 15:32:45      来源:成都倍赛克仪器仪表研究所 >> 进入该公司展台      阅读量:13

分享:

电子液体罐秤介绍与平面结构图

信息摘要:
(一)电子立式液休罐秤 电子立式液体罐秤的结构见图4-37所示.图中,支架1与板2都分别焊接在液休罐3上,压架4利用螺栓固定在支架上.传感器5压头与压架的球心弧相接触,底端用螺栓固
      (一)电子立式液休罐秤
电子立式液体罐秤的结构见图4-37所示.图中,支架1与板2都分别焊接在液休罐3上,压架4利用螺栓固定在支架上.传感器5压头与压架的球心弧相接触,底端用螺栓固定在底座6上。支板用锁轴铰接在支座万上,支座底端平面用螺栓固定在底座上.传感器的输出线接至显示仪表8的信号输入端.该液体罐秤根据作用与精度的需要采用了一组压式传感器作为称重发信号的一次元件,并用两组支座支承液体罐。传感器直接承受罐体内的被称量液体物料的重量,传感器输出的电压信号给二次显示仪表,进行放大、积分、V-f变换、计数显示.

1一支架 2一支板 3-液体罐.4一压架 5一传感器 6一底座 7-支座 8-显示仪表

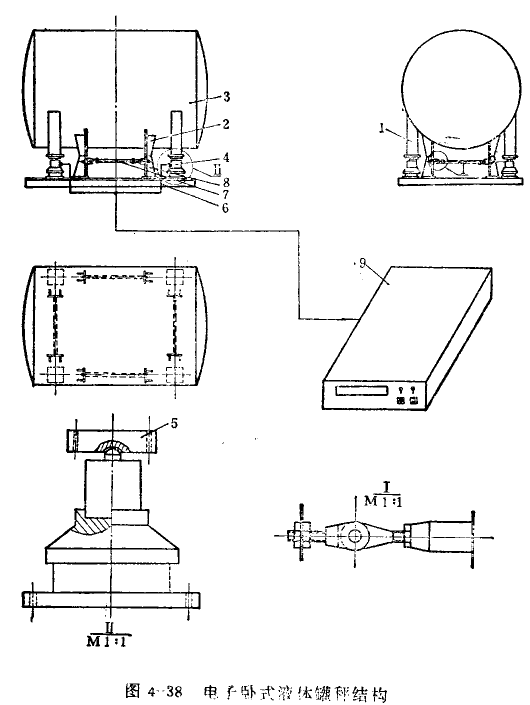
      (二)电子卧式液休雄秤
    电子卧式液体罐秤的结构见图4-38所示.图中,罐腿1(四组)罐架2分别焊接在液体罐3上J移动式传感器4的压头与压架5相接触,传感器底端安装在底座6上.罐架用拉环7连接在拉环架8上,拉环架用螺栓固定在底座上.传感器输出线接至显示仪表9的信号输入端.从图中看出,该承重装置采用四组压式传感器,信号输出采用串联式.作为承重(液体物料)的信号输出,传送给显示仪表的前置放大器、直流放大器、积分器、V-f变换器,计数器进行显示被秤量液体物料的重量值.

1-罐腿 2-罐架 3-液体罐 4-传送罐 5-压架 6-底座 7-拉环 8-拉环架 9-显示仪表


版权与免责声明:
1.凡本网注明"来源:中非贸易网"的所有作品,版权均属于中非贸易网,转载请必须注明中非贸易网。违反者本网将追究相关法律责任。
2.企业发布的公司新闻、技术文章、资料下载等内容,如涉及侵权、违规遭投诉的,一律由发布企业自行承担责任,本网有权删除内容并追溯责任。
3.本网转载并注明自其它来源的作品,目的在于传递更多信息,并不代表本网赞同其观点或证实其内容的真实性,不承担此类作品侵权行为的直接责任及连带责任。其他媒体、网站或个人从本网转载时,必须保留本网注明的作品来源,并自负版权等法律责任。 4.如涉及作品内容、版权等问题,请在作品发表之日起一周内与本网联系。