广告招募

当前位置:中非贸易网 > 技术中心 > 所有分类

电子配料秤结构图

2026年02月06日 15:36:54      来源:成都倍赛克仪器仪表研究所 >> 进入该公司展台      阅读量:15

分享:

电子配料秤结构图

信息摘要:
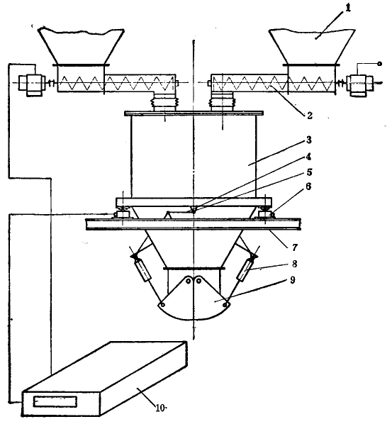
成都倍赛克电子天平为广大读者朋友们介绍了关于电子配料秤的工作原理与电子配料秤的平面结构图供大家学习参考。
    电子配料秤的结构见图4- 32所示.从图中可以看出,组成该秤承重装置是由三组压式传感器作为承重的一次元件。三组传感器的输出信号是串联输出的。输出信号传送给二次显示仪表,直接显示秤斗中的物料重量值.
    储料仓1通过法兰盘将螺旋给料器2利用螺钉连接在一起,给料器的出料口与秤斗3的上端入料口用布袋进行软连接.拉环4的两端与拉环柱5相连接,用来防止秤斗与框架有较大的位移影响传感器的垂直受力一产生水平分力影响计量精度.传感器6顶端的压头安装在压垫上,底平面用螺栓固定在框架7上.气缸8的轴端头与底门9所连接.气缸控制拖动底门的开关。传悠器的榆出线浅至二次显示仪表10的输入端。
电子配料秤结构图
I一料仓 2-螺旋给料器3一秤斗 4一拉环 5一支架 6-传感器 7-框架 8一气缸 9一底门 10一显示仪表


版权与免责声明:
1.凡本网注明"来源:中非贸易网"的所有作品,版权均属于中非贸易网,转载请必须注明中非贸易网。违反者本网将追究相关法律责任。
2.企业发布的公司新闻、技术文章、资料下载等内容,如涉及侵权、违规遭投诉的,一律由发布企业自行承担责任,本网有权删除内容并追溯责任。
3.本网转载并注明自其它来源的作品,目的在于传递更多信息,并不代表本网赞同其观点或证实其内容的真实性,不承担此类作品侵权行为的直接责任及连带责任。其他媒体、网站或个人从本网转载时,必须保留本网注明的作品来源,并自负版权等法律责任。 4.如涉及作品内容、版权等问题,请在作品发表之日起一周内与本网联系。