2025年11月13日 10:28:57 来源:深圳市深国安电子科技有限公司 >> 进入该公司展台 阅读量:5
百科介绍:
无线气体探测器是一种利用无线通信技术进行气体检测的设备。相较于传统的有线气体探测器,无线气体探测器无需布线,安装更为简便,灵活性更高,因此在许多领域得到了广泛的应用。
无线气体探测器通常由传感器、信号处理电路、无线通信模块和电源等部分组成。传感器负责检测环境中的气体浓度,将气体浓度转换为电信号;信号处理电路对传感器输出的电信号进行处理,将其转换为适合无线通信的数字信号;无线通信模块则将处理后的数字信号无线发送到接收端,供用户实时了解环境中的气体浓度情况;电源则提供整个探测器工作所需的电能。

无线气体探测器具有许多优点。首先,它无需布线,可以方便地安装在需要检测气体的区域,避免了繁琐的布线工作。其次,由于无线气体探测器具有高度的灵活性,可以随时调整监测点的位置,以适应不同的监测需求。此外,无线气体探测器还可以实现远程监控,用户可以通过手机、电脑等设备随时了解环境中的气体浓度情况,及时采取措施保障安全。

无线气体探测器在许多领域都有广泛的应用。例如,在化工、石油、制药等行业中,无线气体探测器可以用于监测有毒有害气体,保障员工的安全;在煤矿、隧道等封闭空间中,无线气体探测器可以实时监测氧气、一氧化碳等气体的浓度,预防窒息、中毒等事故的发生;在智能家居领域,无线气体探测器也可以用于监测室内空气质量,保障家人的健康。
总之,无线气体探测器是一种高效、便捷、灵活的气体检测设备,具有广泛的应用前景。随着无线通信技术的不断发展和完善,无线气体探测器的性能也将不断提升,为人们的生活和工作带来更多的便利和安全。

产品资料:
一、固定式无线气体探测器产品概述
SGA-501C系列无线气体探测器是深国安(企业代码:681434)将十多年气体探测器生产经验与无线传输技术有机融合,自主研发生产的一款、性能稳定、安全可靠的无线气体探测器表;产品无需布线,即可无界限地实现数据无线远传;无论您身在何处,都可通过深国安物联网平台的电脑PC端或手机APP客户端实时查看、分析或导出监测数据。还可绑定个人微信,数据异常时自动消息提示;SGA-501C系列无线气体探测器可根据客户需要任意搭配1-6种目标气体组合,气体种类不限,检测量程不限,采样方式不限,分辨率不限,并支持选配温湿度、PM2.5、PM10粉尘颗粒物检测功能;产品采用工业级外观设计,严格遵照GB50493-2009《石油化工可燃气体和有毒气体检测报警设计规范》研发生产,并取得相关的CPA型式批准证书、国家防爆证和第三方计量证书和外观证书等;

SGA-501C系列无线气体探测器采用深国安典型的家族式盾形外观设计,配备工业级铝合金防护外壳,坚固耐用;2.4英寸超大屏幕,显示目标气体、浓度、单位、指示灯、工作状态等各项参数;中英文、繁体,操作界面,适合所有人群;目标气体超标自动报警,风机、阀门等设备的联动;仪器三级报警点、平台报警条件、报警方式自由设置;客户可通过物联网平台接收短信、微信、邮箱、语音等方式接收报警信息,提醒相关人员进行处理;强大的数据存储功能,不仅支持无线检测仪本地进行存储数据,也可通过物联网平台存储数据,自由设置存储间隔时间,实时生成历史记录、历史曲线、报警记录、数据导出、监测时间、设备定位等;国外芯片,精度高、稳定性强、误差率低;ZIGBEE、NRF、WIFI、GPRS多种无线信号传输,无线模块可将采集的无线信号发给相应的采集系统,上传给PLC、DCS、DDC等上位机系统;全量程温湿度补偿智能运算,32位纳米级微处理器+24位超高ADC采集芯片,确保产品在长期运行过程的数据稳定、传输稳定。
SGA-501C系列无线气体探测器除基本的气体检测、继电器输出联动设备功能外,还有许多行业内的应用;如智能校准、智能提醒、一键消音、数据存储、三级报警、量程修改、报警方式多样、平台场景化、个性化设置、截取时间段数据、自主命名、添加多个、流量提醒等功能,开放设备内部权限,使得客户拥有的自主权;按照气体数量的多少,为SGA-501C系列无线单一气体探测器、SGA-502C系列无线二合一气体探测器、SGA-504C系列无线四合一气体探测器和SGA-506C系列无线六合一气体探测器,具体区别请参照下面产品参数列表。
二、固定式无线气体探测器产品特点
◆1-6种气体任意组合,支持1000多种检测
兼容1000多种易燃易爆、有毒气体、挥发性气体检测
1-6种气体任意组合、技术原理不限、检测范围不限
◆智能传感技术,自动识别扩展,一机多用
内置深国安预标定好的智能气体传感器,即插即用,自动识别
可通过更换不同的智能气体传感器,实现对现有6种气体以外的气体进行检测,一机多用,节约成本
作为易耗品的气体传感器寿命到期后,不需拆卸和返厂,直接更换智能气体传感器即可,维护方便
◆友好人机界面,展现各项监测数据
2.4英寸高清液晶彩屏,实时显示检测气体、检测单位、检测浓度值、温度、湿度、报警记录等信息
检测仪运用气体安全系数与颜色预警法相结合,通过可视化的颜色管理来提醒相应的安全系数
平台人性化设计,简单大方,操作简便,实时显示监测数值、日期时间等参数
◆反应灵敏、测量精准、精确度高
深国安采用32位处理芯片,可以精准识到可媲美分析仪级别的ppb浓度
深国安99%选用国外气体传感器,极大地保障了产品安全性和稳定性
全量程温湿度补偿和深国安数据修正功能,确保不同环境下长期使用
◆智能校准、多级修正,高低浓度线性好
零点自动校准
基准线自动修正
目标点多级校准
◆智能提醒,售后无忧
传感器故障、到期或损坏时,自动提醒
气体探测器到达校准期,自动提醒校准
气体探测器到达寿命期,自动提醒报废及更换新品
◆检测单位自由切换,检测量程可大可小
深国安支持切换的单位有umol/mol、ppm、ppb、%LEL、%VOL、mg/m3、ug/m3、g/m3、mg/l、g/l等
检测量程可根据实际需求,将浓度扩大或缩小
◆多种信号输出可选,传输多样化
深国安提供无线远程方式有:WIFI、ROLA、ZIGBEE、NOB-LOT、GPRS、蓝牙等
深国安提供有线远程方式有:RS485、RS232、4-20mA、0-5V、以太网口等
默认无线GPRS传输,确保数据传输稳定,不受监测位置距离的影响
物联网全网能4G流量卡,通过深国安物联网平台可以实时查看消费流量
◆采样方式灵活多变,兼容性强
深国安设计,一个气室可自然扩散式采样,也管道式采样,也可泵吸式主动采样
◆AI监测,智能联动、安全无忧
AI智能监测,超标可自动本地声光报警、提醒人员安全撤离
检测仪内置2组无源触点继电器,达到预设报警点时智能启停相关联动设置,自动排除险情
云平台多种报警条件、报警方式灵活多变,报警信息可一人或多人接收
◆大容量数据存储,记录安全每一刻
检测仪自动存储开机时间、关机时间、故障记录和报警记录等信息,
检测仪支持10万条以上数据存储,平台支持无限条数据存储
检测仪存储间隔可在1-999秒之间任意设置,平台支持任意设置
云平台支持存储历史记录、报警记录、历史曲线、数据导出、设备定位等
云平台支持截取任意时间段的历史记录(移动式的监测设备还支持走航定位等)
◆严苛环境,应对自如
防爆外壳,防爆等级:ExdⅡCT6 Gb
气室设计,防护等级高:IP67
纳米涂层保护,防暴晒,防雨淋、抗酸、抗碱、抗腐蚀
工业级EMC模块,二级防雷,可在强磁和高静电环境下正常使用
高温环境下,可配套深国安专用的高温探针,支持800℃环境下直接采样使用
高湿环境下,可配套深国安专用的高效除尘过滤器+干燥管,支技99%RH环境下直接采样使用
高尘环境下,可配套深国安专用的两尘除尘过滤器,可过滤掉1um以上的颗粒物和粉尘
◆中英双语界面,真正的通
检测仪支持中文简体、中文繁体、英文操作界面自由切换,可内销,也可出口
云平台支持创建个性化物联网监控界面、云组态场景搭建
云平台个性化上传定义传感器数值,开关、图表、曲线
◆智能一键消音,避免吵闹
深国安一键消音功能,按键后可使检测仪蜂鸣器短时间停止报警
◆红外遥控,免开盖操作
可通过遥控器,免开盖对检测仪进行报警点、零点调整和目标点调整
◆内置数据备份,可恢复出厂设置
当现场操作失误、数据混乱时,检测仪可通过内置备份数据,恢复到出厂状态
平台监测数据加密分享,安全无忧
监测数据无需下载,所有数据服务均在云端
◆多种登陆方式,按需选择
支持手机APP、微信公众号、小程序、PC端登陆,同步查看更新管理
◆资质齐全、
深国安先后获得100多项国家和荣誉证书,包括ISO9001质量管理体系认证、ISO14001环境管理体系认证、CPA型式批准证书、国家防爆证、实用新型、外观、CE证书、ROHS证书、国家检测报告、第三方计量校准证书、软件企业认证证书、中国仪器仪表会员单位、中国气体探测器品牌、质量.服务.信誉AAA企业、高新杯科技小巨人奖、中国绿色环保名优企业等
三、固定式无线气体探测器技术参数

四、固定式无线气体探测器产品应用场所
石油石化、化工厂、冶炼厂、钢铁厂、煤炭厂、热电厂、自来水厂、医药车间、烟草公司、大气环境监测、科研院校、楼宇建设、消防报警、污水处理、工业过程化控制、锅炉房、垃圾处理厂、地下隧道、输油管道、加气站、地下管网检修、室内空气质量检测、食品加工、杀菌消毒、冷冻仓库、农药化肥、杀虫剂生产等。
五、固定式无线气体探测器安装高度

六、产品导购
深国安另有
SGA-400系列智能传感器模组
SGA-700系列智能传感器模组
SGA-100H-4四气智能盒
SGA-ZHB-4四组信号板
SGA-ZHB-10 十组信号板
SGA-500-OU 恶臭电子鼻
SGA-500-AQI微型空气质量监测站
SGA-600A系列便携扩散式气体探测器
SGA-600B系列便携泵吸式气体探测器
SGA-600C系列便携泵吸式气体探测器
SGA-608系列手提式气体分析仪
七、固定式无线气体探测器产品命名规则

八、物联网云平台
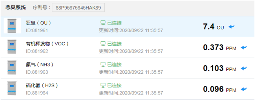
深国安SGA-501C系列无线气体探测器搭配深国安专用物联网云平台,实现气体无线检测的需求,免去客户复杂布线的麻烦。安装调试完成后可直接在物联网平台中读取检测数值,查看气体检测状态,生成历史曲线,分析气体检测数值。同时深国安物联网云平台还支持SGA-500系列无线气体探测器、SGA-608系统手提泵吸式气体分析仪、SGA-800系列报警控制器、SGA-900系列预处理型在线监测系统、SGA-900系列恶臭在线监测系统等设备。无论多少台检测设备都可接入到平台中,且可进行各个气体监测设备的定位,实现气体检测的工业化、数据化、智能化管理、提升工作效率。满足客户气体监测的需求。

设备工作状态

设备定位

历史记录

报警记录

深国安常见气体选型

※另有1000种气体和量程可选,详细请咨询深国安销售人员!